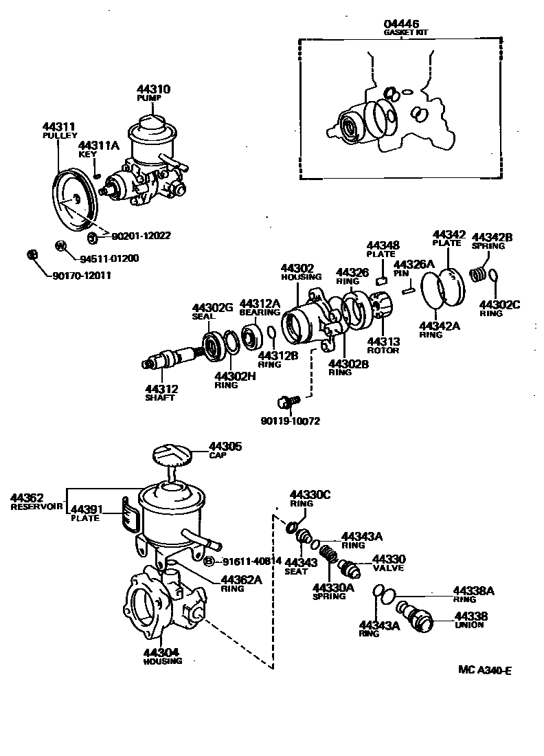
VANE PUMP & RESERVOIR (POWER STEERING)

04446GASKET KIT, POWER STEERING PUMP
44302HOUSING SUB-ASSY, VANE PUMP, FRONT
44302BRING, O, NO.1(FOR VANE PUMP HOUSING)
44302CRING, O, NO.2(FOR VANE PUMP HOUSING)
44302GSEAL, OIL, NO.2(FOR VANE PUMP HOUSING)
44302HRING, SNAP, NO.1(FOR VANE PUMP HOUSING)
44311PULLEY, VANE PUMP
44311AKEY, VANE PUMP PULLEY
44312SHAFT, VANE PUMP
44312ABEARING(FOR VANE PUMP SHAFT)
44312BRING, SNAP, NO.1(FOR VANE PUMP SHAFT)
sub90520-15005
44313ROTOR, VANE PUMP
NO MARK
MARK 1,MARK 1
MARK 2,MARK 2
MARK 3,MARK 3
MARK 4,MARK 4
NO MARK
MARK 1,MARK 1
MARK 2,MARK 2
MARK 3,MARK 3
MARK 4,MARK 4
44326RING, CAM(FOR VANE PUMP)
NO MARK
MARK 1,MARK 1
MARK 2,MARK 2
MARK 3,MARK 3
MARK 4,MARK 4
44326APIN, STRAIGHT(FOR VANE PUMP CAM RING)
L=25,OD=5.0
44330VALVE ASSY, FLOW CONTROL
MARK A,MARK A
MARK B,MARK B
MARK C,MARK C
MARK D,MARK D
MARK E,MARK E
MARK F,MARK F
MARK A
MARK B
MARK C
MARK D
MARK E
MARK F
MARK A,MARK A
MARK B,MARK B
MARK C,MARK C
MARK D,MARK D
MARK E,MARK E
MARK F,MARK F
44330ASPRING, COMPRESSION(FOR FLOW CONTROL VALVE)
44330CRING, SNAP(FOR FLOW CONTROL VALVE)
44338UNION, PRESSURE PORT
44338ARING, O(FOR PRESSURE PORT UNION)
OD=25.5,ID=22.5,OD=25.5
44342PLATE, VANE PUMP SIDE, REAR
44342ARING, O(FOR VANE PUMP SIDE PLATE REAR)
44342BSPRING, COMPRESSION(FOR VANE PUMP SIDE PLATE REAR)
44343SEAT, FLOW CONTROL SPRING
44343ARING, O(FOR FLOW CONTROL SPRING SEAT)
44348PLATE, VANE PUMP
L=14.997,ROTOR NO MARK
L=14.995,ROTOR MARK 1
L=14.993,ROTOR MARK 2
L=14.991,ROTOR MARK 3
L=14.989,ROTOR MARK 4
44362RESERVOIR, OIL(FOR VANE PUMP)
44362ARING, O(FOR VANE PUMP OIL RESERVOIR)
44391PLATE, POWER STEERING OIL RESERVOIR CAUTION
9011910072
main90119-10072
9017012011
main90170-12011
9020112022
main90201-12022
9161140814
main91611-40814
9451101200
main94511-01200
36 parts on this diagram · 6 diagrams in section