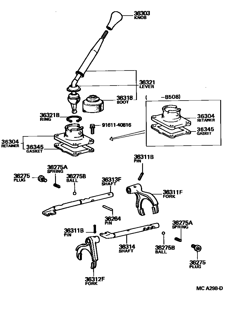
TRANSFER LEVER & SHIFT ROD

36264PIN OR ROLLER, SHIFT INTER-LOCK
L=30.8,OD=6
36275PLUG, SHIFT DETENT BALL SPRING
36275ASPRING, COMPRESSION (FOR SHIFT DETENT BALL)
L=16.5
36275BBALL, SHIFT DETENT
OD=7.94,STEEL
36303KNOB SUB-ASSY, SHIFT LEVER
BLACK,BLACK
main36303-35020-03iLN61,YN63; LN65,YN67..DLX..EUR; LN65..LHD..T1..GEN..CBU; LN65..RHD..GEN198608-199201
GRAY,GRAY,TRIM1#
main36303-35020-04iLN65,YN67..DLX..EUR; LN65..LHD..T1..GEN..CBU; LN65..RHD..GEN; LN65..SR5; YN67..ARL198608-199201
BLUE,BLUE,TRIM8#
main36303-35020-05iLN61,YN63; LN65,YN67..DLX..EUR; LN65..LHD..T1..GEN..CBU; LN65..RHD..GEN; YN67..ARL198608-199201
BEIGE,BEIGE,TRIM4#
BLACK,BLACK
GRAY,GRAY,TRIM1#
BEIGE,BEIGE,TRIM4#
36304RETAINER SUB-ASSY, TRANSFER CONTROL SHIFT LEVER
36311BPIN, SLOTTED SPRING (FOR TRANSFER SHIFT FORK)
L=22
36311FFORK, TRANSFER GEAR SHIFT, NO.1
36312FFORK, TRANSFER GEAR SHIFT, NO.2
36313FSHAFT, TRANSFER FRONT DRIVE SHIFT FORK
36314SHAFT, TRANSFER HIGH AND LOW SHIFT FORK
36318BOOT, TRANSFER FRONT DRIVE SHIFT
36321LEVER, TRANSFER FRONT DRIVE SHIFT
36321BRING, HOLE SNAP (FOR TRANSFER FRONT DRIVE SHIFT LEVER)
36345GASKET, TRANSFER CONTROL SHIFT LEVER RETAINER
9161140816
main91611-40816
16 parts on this diagram · 2 diagrams in section