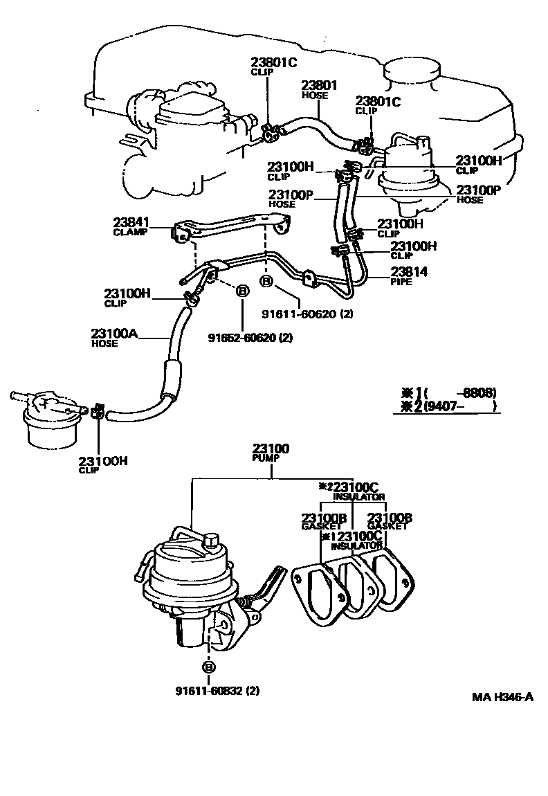
FUEL PUMP & PIPE

23100PUMP ASSY, FUEL
23100AHOSE, FUEL
*H,L=260
L=400
*H,L=260
23100BGASKET, FUEL PUMP
23100CINSULATOR, FUEL PUMP
23100HCLIP(FOR FUEL HOSE)
FUEL FILTER TO PIPE
23100PHOSE(FOR FUEL PUMP TO FUEL TUBE)
*H,L=120
*H,L=120
23801PIPE OR HOSE SUB-ASSY, CARBURETOR FUEL, NO.1
main23811-71011i4Y..YN58..4F;4Y..YN58..SR5;4Y..YN62,63,67;1Y#,2Y#,3Y,4YC..YN5#,60,65..4F,4FC,4H,5F198404-199807
L=200(*H,L=190)
L=200(*H,L=190)
L=200(*H,L=190)
23801CCLIP(FOR CARBURETOR FUEL HOSE)
23814PIPE, FUEL DELIVERY
23841CLAMP, FUEL PIPE(HOSE), NO.1
9161160620
main91611-60620
9161160832
main91611-60832
9165260620
main91652-60620
13 parts on this diagram · 2 diagrams in section