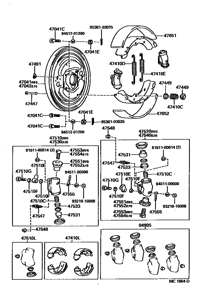
FRONT DRUM BRAKE WHEEL CYLINDER & BACKING PLATE

04905CUP KIT, FRONT WHEEL CYLINDER
47041PLATE SUB-ASSY, BRAKE BACKING, FRONT RH
47041CBOLT(FOR BACKING PLATE TO STEERING KNUCKLE ARM SETTING)
12-1.25PX60-20
12-1.25PX36.3-20
12-1.25PX58.5-20
12-1.25PX61-20,W/SERRATION
12-1.25PX60-20,W/SERRATION
47041ENUT(FOR BACKING PLATE TO STEERING KNUCKLE ARM SETTING)
47042PLATE SUB-ASSY, BRAKE BACKING, FRONT LH
47410CSPRING(FOR FRONT BRAKE SHOE HOLD DOWN)
47410DSPRING, TENSION(FOR FRONT BRAKE SHOE RETURN)
47410ESPRING, TENSION(FOR FRONT BRAKE SHOE RETURN)
47410LSHOE KIT, FRONT BRAKE
sub04494-30012
47447PIN, SHOE HOLD DOWN SPRING(FOR FRONT BRAKE)
47449CUP, SHOE HOLD DOWN SPRING(FOR FRONT BRAKE)
47491PLUG, HOLE(FOR FRONT BRAKE)
47510CYLINDER ASSY, FRONT WHEEL BRAKE, RH(FOR FRONT OR UPPER)
ID=28.57
ID=28.57
47510CSPRING, COMPRESSION(FOR FRONT WHEEL BRAKE CYLINDER)
47510EUNION(FOR FRONT WHEEL BRAKE CYLINDER)
FR
RR
FR
47510FGASKET(FOR FRONT WHEEL BRAKE CYLINDER)
47510GBOLT, UNION(FOR FRONT WHEEL BRAKE CYLINDER)
47510LCUP KIT, FRONT WHEEL CYLINDER
47520CYLINDER ASSY, FRONT WHEEL BRAKE, RH(FOR REAR OR LOWER)
ID=28.57
ID=28.57
47530CYLINDER ASSY, FRONT WHEEL BRAKE, LH(FOR FRONT OR UPPER)
ID=28.57
ID=28.57
47531PISTON, WHEEL BRAKE CYLINDER(FOR FRONT BRAKE)
47533SEAT, WHEEL CYLINDER PISTON SPRING(FOR FRONT BRAKE)
47540CYLINDER ASSY, FRONT WHEEL BRAKE, LH(FOR REAR OR LOWER)
ID=28.57
ID=28.57
47547PLUG, BLEEDER(FOR FRONT DRUM BRAKE)
47548CAP, BLEEDER PLUG(FOR DRUM BRAKE, FRONT)
47551NUT, FRONT WHEEL CYLINDER ADJUSTING, RH(FOR FRONT BRAKE)
47552NUT, FRONT WHEEL CYLINDER ADJUSTING, LH(FOR FRONT BRAKE)
47553BOLT, FRONT WHEEL CYLINDER ADJUSTING, RH(FOR FRONT BRAKE)
47554BOLT, FRONT WHEEL CYLINDER ADJUSTING, LH(FOR FRONT BRAKE)
47555SPRING, ADJUSTER LOCK(FOR FRONT BRAKE)
47651LINING, FRONT BRAKE SHOE(FOR FRONT OR UPPER)
47652LINING, FRONT BRAKE SHOE(FOR REAR OR LOWER)
9161160814
main91611-60814
9321915008
main93219-15008
9451100500
main94511-00500
9451201200
main94512-01200
9538103025
main95381-03025
37 parts on this diagram · 3 diagrams in section