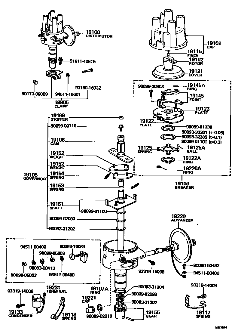
DISTRIBUTOR

19100DISTRIBUTOR ASSY
AUSTRALIA N.S.W. SPEC.
E.C.E. NO.10
SOUTH AFRICA W/GOVERNOR ROTOR
18RC
19101CAP SUB-ASSY, DISTRIBUTOR
18RC
19102ROTOR SUB-ASSY, DISTRIBUTOR
E.C.E. NO.10
SOUTH AFRICA W/GOVERNOR ROTOR
19103BREAKER SUB-ASSY, DISTRIBUTOR
19105GOVERNOR SUB-ASSY
18RC
19106CAM SUB-ASSY, DISTRIBUTOR
18RC
19107ARING, O, DISTRIBUTOR HOUSING
19115PIECE, DISTRIBUTOR CAP, CENTER
19117SPRING, DISTRIBUTOR CAP, A
19118SPRING, DISTRIBUTOR CAP, B
19121COVER, DUST PROOF
19122PLATE, STATIONARY, DISTRIBUTOR
19122ARING, SNAP(FOR DISTRIBUTOR STATIONARY PLATE)
19123PLATE, DISTRIBUTOR BREAKER
19125SPRING(FOR DISTRIBUTOR STATIONARY PLATE)
19125ABALL, DISTRIBUTOR STATIONARY PLATE
19133CONDENSER, DISTRIBUTOR
19145POINT, DISTRIBUTOR
19145ARING, SNAP(FOR DISTRIBUTOR KIT)
19151SHAFT, GOVERNOR
19152WEIGHT, GOVERNOR
19153SPRING, GOVERNOR, A
18RC
19154SPRING, GOVERNOR, B
19155GEAR, SPIRAL, DISTRIBUTOR
19169STOPPER, CAM GREASE
EUROPE SPEC.
19220ADVANCER ASSY, VACUUM, DISTRIBUTOR
AUSTRALIA N.S.W. SPEC.
EUROPE SPEC.
18RC
18RC
19220ARING, SNAP(FOR DISTRIBUTOR VACUUM ADVANCER)
19221CAP, ADJUSTER, DISTRIBUTOR
19231TERMINAL, DISTRIBUTOR
19905CLAMP SUB-ASSY, DISTRIBUTOR
9009050492
main90090-50492
9009300413
main90093-00413
9009331202
main90093-31202
9009331204
main90093-31204
9009332301
main90093-32301
9009332302
main90093-32302
9009900710
main90099-00710
9009900803
main90099-00803
9009901100
main90099-01100
9009901191
main90099-01191
9009901238
main90099-01238
9009902019
main90099-02019
9009902093
main90099-02093
9009905803
main90099-05803
9009919084
main90099-19084
9017306009
main90173-06009
9161140816
main91611-40816
9318016032
main93180-16032
9331914008
main93319-14008
9331915008
main93319-15008
9451100400
main94511-00400
9461110601
main94611-10601
52 parts on this diagram · 2 diagrams in section