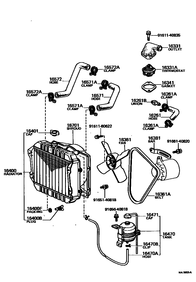
RADIATOR & WATER OUTLET

16261HOSE, WATER BY-PASS
16261ACLAMP OR CLIP, HOSE(FOR WATER BY-PASS HOSE)
16261BUNION(FOR WATER BY-PASS HOSE)
16331OUTLET, WATER
CAST IRON BODY
E.C.E. NO.15
16331ATHERMOSTAT
WAX 82-95 FUJI-THOMSON
WAX 82-95 KUZEH
WAX 75-85 KUZEH
WAX 82-95 FUJI-THOMSON
WAX 82-95 FUJI-THOMSON
WAX 88-100 FUJI-THOMSON
WAX 82-95 KUZEH
WAX 82-95 (K) AUSTRALIA N.S.W.
WAX 88-100 KUZEH
16341GASKET, WATER OUTLET
16361FAN
4 BLADES
4 BLADES
5 BLADES,W/COOLER
6 BLADES
7 BLADES
7 BLADES
6 BLADES
16361ABELT, V(FOR FAN & ALTERNATOR)
L=840,18RC
L=890
L=890
L=890
L=839
L=843
L=873
L=887
L=897
16381BAR, FAN BELT ADJUSTING
12V 480W ALTERNATOR
16400RADIATOR ASSY
16400BPLUG, RADIATOR DRAIN COCK
16400FPACKING(FOR RADIATOR DRAIN COCK)
16401CAP SUB-ASSY, RADIATOR
16470TANK ASSY, RADIATOR RESERVE
16470AHOSE OR PIPE(FOR RADIATOR RESERVE TANK)
L=1000(*H,L=700)
L=1000(*H,L=750)
16470BCLAMP OR CLIP(FOR RADIATOR RESERVE TANK HOSE)
16471CAP SUB-ASSY, RESERVE TANK
16571HOSE, RADIATOR, INLET
16571ACLAMP OR CLIP, HOSE(FOR RADIATOR INLET)
WATER OUTLET SIDE
RADIATOR SIDE
16572HOSE, RADIATOR, OUTLET
16572ACLAMP OR CLIP, HOSE(FOR RADIATOR OUTLET NO.1)
ID=49
ID=45
ID=48
16701SHROUD SUB-ASSY, FAN
W/COOLER,UPPER
W/COOLER,LOWER
9161140835
main91611-40835
9161160622
main91611-60622
9165140818
main91651-40818
9165640818
main91656-40818
9166140820
main91661-40820
27 parts on this diagram · 3 diagrams in section