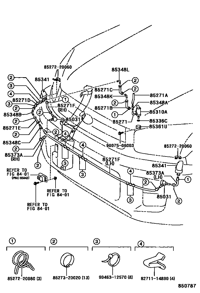
HEADLAMP CLEANER

8401SWITCH & RELAY & COMPUTER
85031VALVE, HEADLAMP CLEANER WASHER HOSE
85271HOSE, HEADLAMP CLEANER, NO.1
L=15
85271AHOSE, HEADLAMP CLEANER, NO.2
L=180
L=580
85271BHOSE, HEADLAMP CLEANER, NO.3
L=135
L=35
85271CHOSE, HEADLAMP CLEANER, NO.4
L=120
85271DHOSE, HEADLAMP CLEANER, NO.5
L=140
85271EHOSE, HEADLAMP CLEANER, NO.6
L=150
85271FHOSE, HEADLAMP CLEANER, NO.7
LH
L=45
L=35,RH
85310AMOTOR AND PUMP ASSY, HEADLAMP CLEANER WASHER
85336CPACKING, HEADLAMP CLEANER MOTOR
85341NOZZLE, HEADLAMP CLEANER WASHER
85348AJOINT, HEADLAMP CLEANER HOSE, NO.1
85348BJOINT, HEADLAMP CLEANER HOSE, NO.2
85348CJOINT, HEADLAMP CLEANER HOSE, NO.3
85348KJOINT, HEADLAMP CLEANER ELBOW, NO.1
85348LJOINT, HEADLAMP CLEANER ELBOW, NO.2
85361UBRACKET, HEADLAMP CLEANER WASHER
85373AHOSE, HEADLAMP CLEANER WASHER (FROM JOINT TO NOZZLE)
L=70,RH
L=52,LH
8271114890WIRE, FUSE TO FUSE(FOR COMBUSTION HEATER)
main82711-14890
8527220060CABLE SUB-ASSY, HEADLAMP CLEANER, RH
main85272-20060
8527220080CABLE SUB-ASSY, HEADLAMP CLEANER, RH
main85272-20080
8527320020CABLE SUB-ASSY, HEADLAMP CLEANER, LH
main85273-20020
9007506003
main90075-06003
9046312570
main90463-12570
25 parts on this diagram · 2 diagrams in section