E
EPC Data

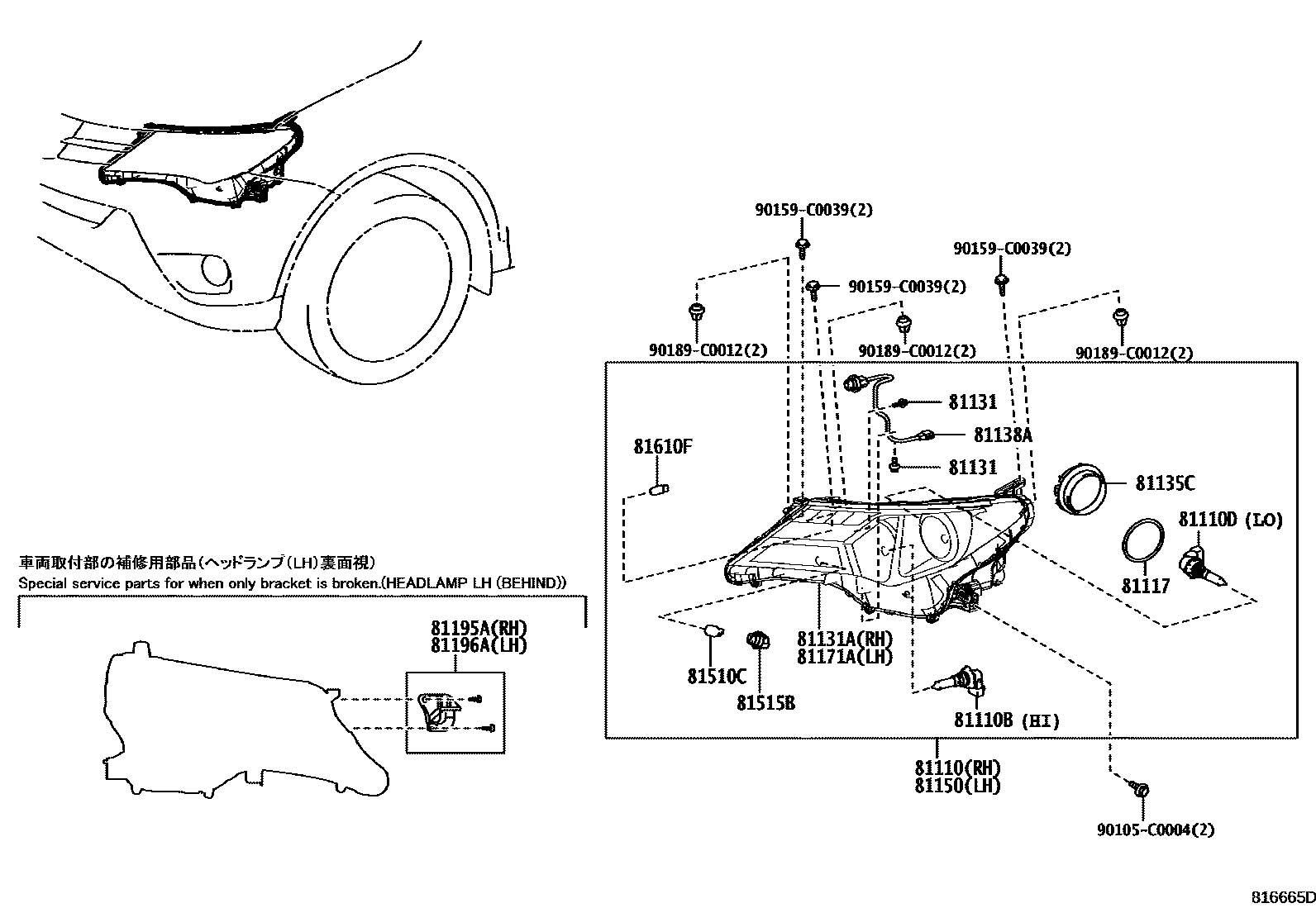
HEADLAMP

Parts diagram
81110HEADLAMP ASSY, RH
main81110-0R060i201308-201410
main81110-0R061i201410-201504
main81110-0R062i201505-201607
main81110-0R070i201308-201410
main81110-0R071i201410-201504
HEAD LAMP-DISCHARGE & WITH(AUTOMATIC HIGH BEAM)
main81110-0R072i201505-201607
HEAD LAMP-DISCHARGE & WITH(AUTOMATIC HIGH BEAM)
main81110-0R100i201607
main81110-0R110i201607
81110BBULB(FOR HEADLAMP, NO.1)
main90981-13092×2i201308-201607
12V 60W,HALOGEN
main90981-13102×2i201607
12V 55W
81110DBULB(FOR HEADLAMP, NO.2)
main90981-13092×2i201308-201607
12V 60W,HALOGEN
81117PACKING, HEADLAMP HOUSING
main81117-07100×2i201308-201607
main81117-0R110×2i201607
81131SCREW, HEADLAMP ADJUSTING
main81131-0R060×4i201308-201607
81131AUNIT, HEADLAMP, RH
main81130-0R060i201308-201410
main81130-0R061i201410-201505
main81130-0R062i201505-201607
main81130-0R070i201308-201410
main81130-0R071i201410-201505
HEAD LAMP-DISCHARGE & WITH(AUTOMATIC HIGH BEAM)
main81130-0R072i201505-201607
HEAD LAMP-DISCHARGE & WITH(AUTOMATIC HIGH BEAM)
main81130-0R100i201607
81135CCOVER, HEADLAMP BACK, NO.1
main81135-42520×2i201308-201607
81138ASOCKET & WIRE, HEADLAMP
main81138-0R060×2i201308-201607
main81138-0R100×2i201607
81150HEADLAMP ASSY, LH
main81150-0R060i201308-201410
main81150-0R061i201410-201504
main81150-0R062i201505-201607
main81150-0R070i201308-201410
main81150-0R071i201410-201504
HEAD LAMP-DISCHARGE & WITH(AUTOMATIC HIGH BEAM)
main81150-0R072i201505-201607
HEAD LAMP-DISCHARGE & WITH(AUTOMATIC HIGH BEAM)
main81150-0R100i201607
main81150-0R110i201607
81171AUNIT, HEADLAMP, LH
main81170-0R060i201308-201410
main81170-0R061i201410-201505
main81170-0R062i201505-201607
main81170-0R070i201308-201410
main81170-0R071i201410-201505
HEAD LAMP-DISCHARGE & WITH(AUTOMATIC HIGH BEAM)
main81170-0R072i201505-201607
HEAD LAMP-DISCHARGE & WITH(AUTOMATIC HIGH BEAM)
main81170-0R100i201607
81195ARETAINER, HEADLAMP PROTECTOR, LOWER RH
main81195-42010i201308-201607
main81195-42040i201607
81196ARETAINER, HEADLAMP PROTECTOR, LOWER LH
main81196-42010i201308-201607
main81196-42040i201607
81510CBULB (FOR FRONT TURN SIGNAL LAMP)
main90981-15011×2i201308-201607
12V 21W,AMBER
81515BSOCKET, FRONT TURN SIGNAL LAMP
main90075-60028×2i201308-201607
81610FBULB(FOR CLEARANCE LAMP)
main90981-11064×2i201308-201607
12V 5W
main90981-11065×2i201607
12V 5W
90105C0004
90159C0039
90189C0012

18 parts on this diagram · 4 diagrams in section

HEADLAMP — Toyota Parts Diagram with OEM Numbers & Prices | EPC Data