E
EPC Data

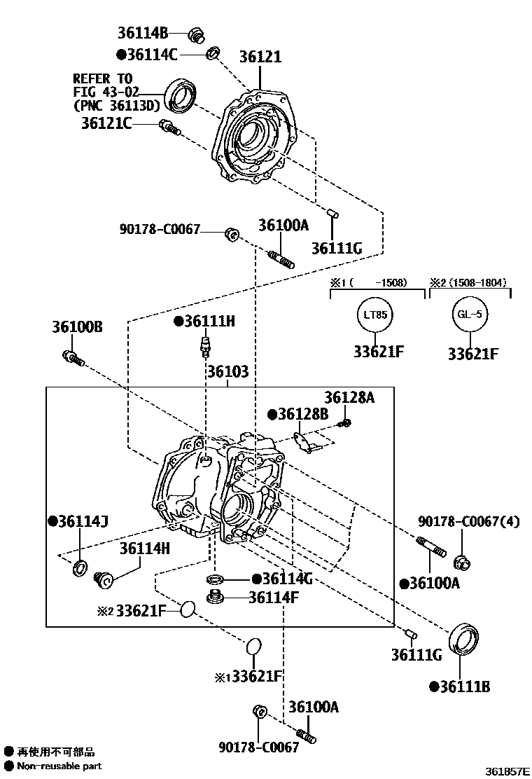
TRANSFER CASE & EXTENSION HOUSING

Parts diagram
33621FLABEL, TRANSAXLE OIL INFORMATION
main33621-42030i201308-201508
main33621-48020i201508-201607
36100ABOLT, STUD (FOR TRANSFER & TRANSAXLE SETTING)
main90080-11565i201308-201607
S=19 & 19,L=47,(L)
main90116-12028i201607-201802
S=22 & 22,L=69
main90116-12034i201308-201607
S=19 & 19,L=47,(J)
main90116-12041×4i201308-201607
S=30 & 22,L=64
main90116-C0012i201802
36100BBOLT (FOR TRANSFER & TRANSAXLE SETTING)
main90105-12298×2i201607
*12-1.25PX53-35
main90105-C0225×2i201308-201607
*12-1.25PX53-35
36103CASE SUB-ASSY, TRANSFER
main36103-42040i201308-201508
main36103-42041i201607-201809
main36103-42050i201308-201508
main36103-42051i201508-201606
main36103-42052i201606-201607
main36103-42070i201809
36111BSEAL, OIL (FOR TRANSFER CASE)
main90311-49001i201308-201607
main90311-55002i201308-201607
36111GPIN, STRAIGHT (FOR TRANSFER CASE)
main90250-10017×4i201607
L=20,OD=10
36111HPLUG, BREATHER (FOR TRANSFER CASE)
main90930-03133i201607
36114BPLUG, NO.1 (FOR TRANSFER CASE)
main90341-18006i201308-201607
main90341-C0018i201802
36114CGASKET, NO.1 (FOR TRANSFER CASE)
main12157-10010i201308-201607
36114FPLUG (FOR TRANSFER DRAIN)
main90341-18051i201308-201607
36114GGASKET (FOR TRANSFER DRAIN PLUG)
main12157-10010i201308-201607
36114HPLUG, NO.2 (FOR TRANSFER CASE)
main90341-18023i201607
36114JGASKET, NO.2 (FOR TRANSFER CASE)
main12157-10010i201607
36121COVER, TRANSFER CASE, NO.1
main36121-52020i201308-201607
36121CBOLT, WASHER BASED HEAD HEXAGON (FOR TRANSFER CASE COVER)
main91552-81030×8i201607
36128ABOLT (FOR BREATHER OIL DEFLECTOR)
main91621-60614×2i201308-201607
36128BDEFLECTOR, BREATHER OIL
main36128-42010i201308-201607
main36128-52010i201308-201607
4302
90178C0067

19 parts on this diagram · 2 diagrams in section

TRANSFER CASE & EXTENSION HOUSING — Toyota Parts Diagram with OEM Numbers & Prices | EPC Data