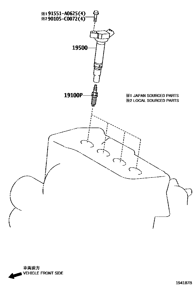
IGNITION COIL & SPARK PLUG / GLOW PLUG

19100PPLUG, SPARK
SK16HR11,(J)
SK16HR11
SK16HR11,(L)
SC20HR11
SC20HR11
SC16HR11
19500COIL ASSY, IGNITION
90105C0072
main90105-C0072
91551A0625
main91551-A0625
4 parts on this diagram · 2 diagrams in section

4 parts on this diagram · 2 diagrams in section