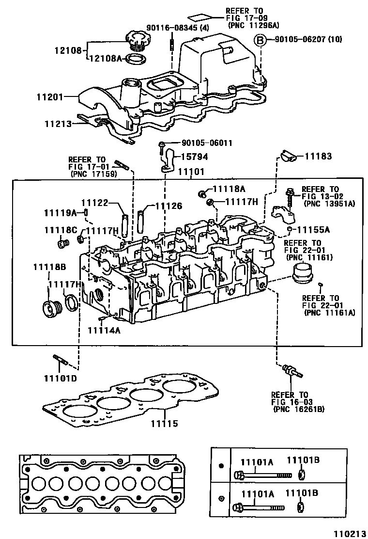
CYLINDER HEAD

11101ABOLT(FOR CYLINDER HEAD SET)
sub90910-02121
NO.2
NO.1
*11-1.25PX123-53
*11-1.25PX145-53
*11-1.25PX145-53
*11-1.25PX123-53
11101BWASHER, PLATE(FOR CYLINDER HEAD SET)
11101DBOLT, STUD(FOR WATER OUTLET)
11114APIN, STRAIGHT
L=11,OD=6
11117HGASKET(FOR WATER HOLE)
PNC 11118A
PNC 11118C
PNC 11118B
11118APLUG, STRAIGHT, NO.1
11118BPLUG, STRAIGHT, NO.2
11118CPLUG, STRAIGHT, NO.3
11119APIN, STRAIGHT, NO.1
L=14,OD=6
L=16,OD=6
L=18,OD=8
11122BUSH, INTAKE VALVE GUIDE
STD
STD
STD
O/S 0.05
O/S 0.05
O/S 0.05
11126BUSH, EXHAUST VALVE GUIDE
STD
O/S 0.05
O/S 0.05
STD
O/S 0.05
11213GASKET, CYLINDER HEAD COVER
12108CAP SUB-ASSY, OIL FILLER
12108AGASKET(FOR OIL FILLER CAP)
1302
15794NOZZLE, CYLINDER HEAD OIL
1603
1701
1709
2201
9010506011
main90105-06011
9010506207
main90105-06207
9011608345
main90116-08345
28 parts on this diagram · 6 diagrams in section