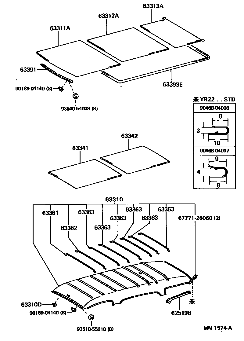
ROOF HEADLINING & SILENCER PAD

62519BTRIM, SIDE LOWER WINDOW
63310HEADLINING ASSY, ROOF
LIGHT GRAY,TRIM1#
LIGHT GRAY,TRIM1#
LIGHT GRAY,TRIM1#
LIGHT GRAY,TRIM1#
63310DCLIP, ROOF HEADLINING
GRAY,TRIM1#
63311AHEADLINING, ROOF NO.1
LIGHT GRAY,TRIM1#
LIGHT GRAY,TRIM1#
63312AHEADLINING, ROOF, NO.2
LIGHT GRAY,TRIM1#
LIGHT GRAY,TRIM1#
63313AHEADLINING, ROOF, NO.3
LIGHT GRAY,TRIM1#
LIGHT GRAY,TRIM1#
63341PAD, ROOF SILENCER, NO.1
63342PAD, ROOF SILENCER, NO.2
63361SUPPORT, ROOF HEADLINING, NO.1
63362SUPPORT, ROOF HEADLINING, NO.2
63363SUPPORT, ROOF HEADLINING, NO.3
63391TRIM, ROOF HEADLINING, FRONT
63393ETRIM, ROOF HEADLINING
LIGHT GRAY,TRIM1#
6777128060WEATHERSTRIP, BACK DOOR TRIM, RH
main67771-28060
9018904140
main90189-04140
9046804008
main90468-04008
9046804017
main90468-04017
9351055010
main93510-55010
9354054008
main93540-54008
19 parts on this diagram · 1 diagram in section