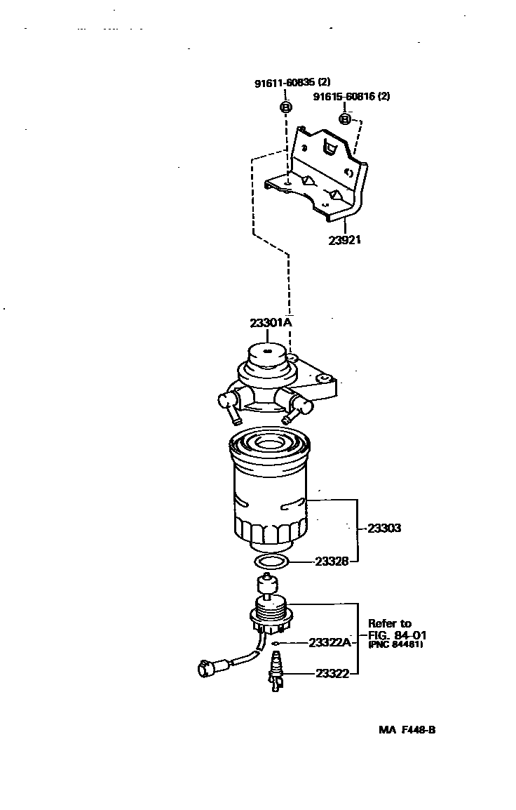
FUEL FILTER

23301ACAP ASSY, FUEL FILTER
23303ELEMENT SUB-ASSY, FUEL FILTER
23322PLUG, DRAIN(FOR FUEL FILTER)
23322ARING, O(FOR DRAIN PLUG)
23328GASKET(FOR FUEL FILTER)
23921SUPPORT, FUEL FILTER
8401SWITCH & RELAY & COMPUTER
9161160835
main91611-60835
9161560816
main91615-60816
9 parts on this diagram · 3 diagrams in section