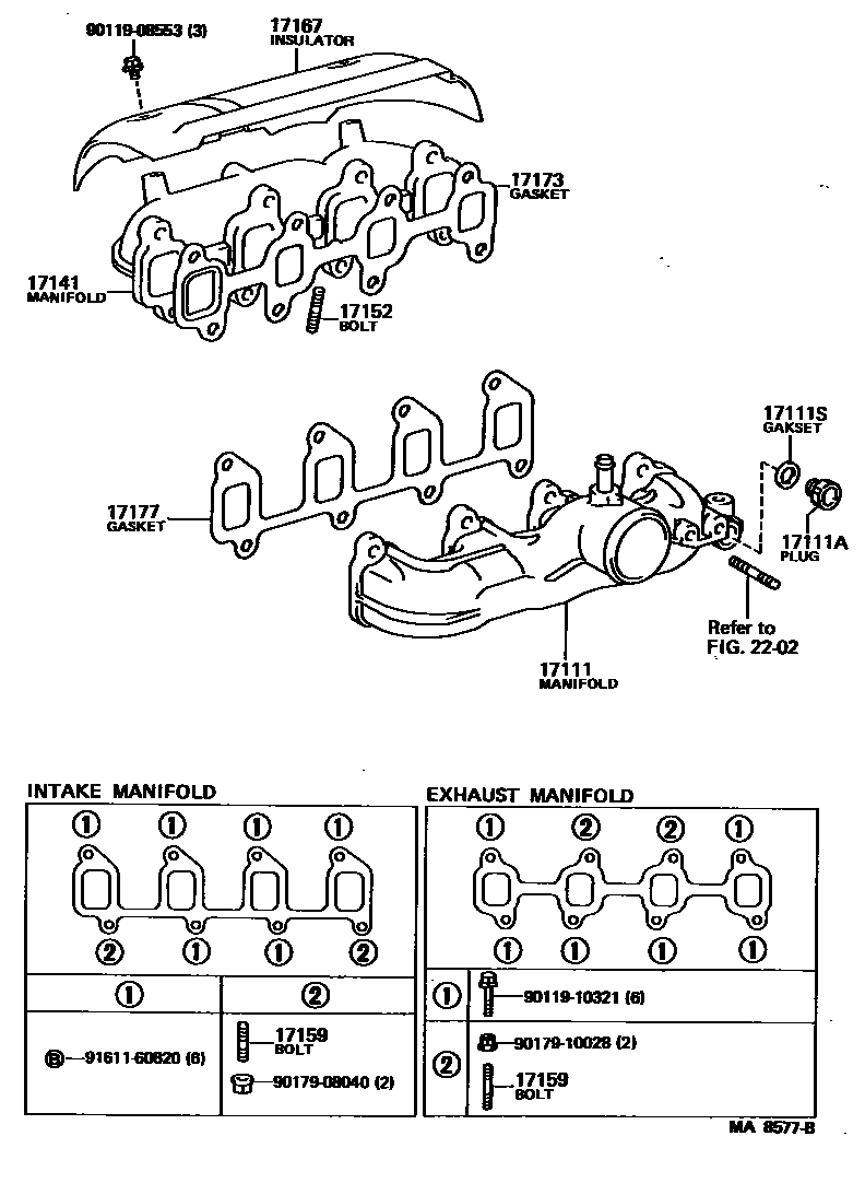
MANIFOLD

17111MANIFOLD, INTAKE
17111SGASKET(FOR MANIFOLD PLUG)
17141MANIFOLD, EXHAUST
17152BOLT, STUD(FOR MANIFOLD TO EXHAUST PIPE)
17159BOLT, STUD(FOR MANIFOLD TO CYLINDER HEAD)
EXHAUST MANIFOLD
EXHAUST MANIFOLD
INTAKE MANIFOLD
17167INSULATOR, EXHAUST MANIFOLD HEAT, NO.1
17173GASKET, EXHAUST MANIFOLD TO HEAD
17177GASKET, INTAKE MANIFOLD TO HEAD, NO.1
2202INJECTION PUMP ASSEMBLY
9011908553
main90119-08553
9011910321
main90119-10321
9017908040
main90179-08040
9017910028
main90179-10028
9161160820
main91611-60820
15 parts on this diagram · 4 diagrams in section