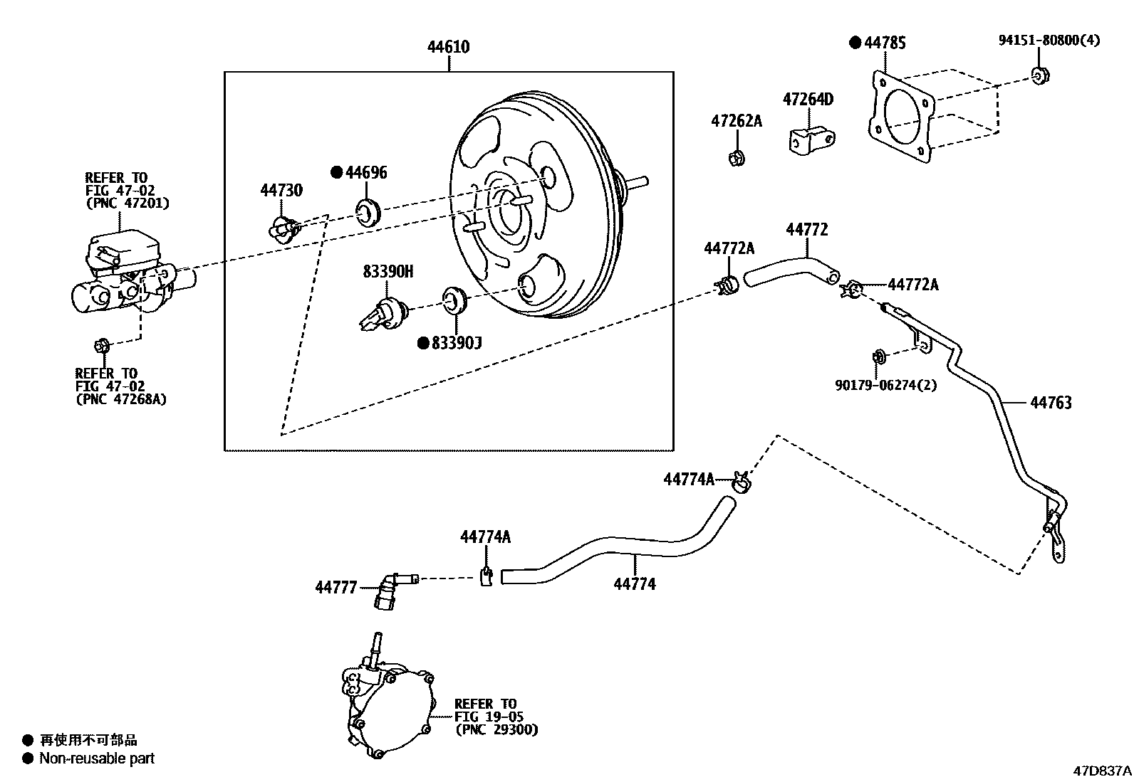
BRAKE BOOSTER & VACUUM TUBE

1905VACUUM PUMP
44610BOOSTER ASSY, BRAKE
44696GROMMET, CHECK VALVE
44730VALVE ASSY, VACUUM CHECK(FOR BRAKE)
44763TUBE, BOOSTER VACUUM
44772HOSE, CHECK VALVE TO CONNECTOR TUBE
44772ACLIP(FOR CHECK VALVE TO CONNECTOR TUBE)
44774HOSE, UNION TO CONNECTOR TUBE
44774ACLIP(FOR UNION TO CONNECTOR TUBE HOSE)
44777CONNECTOR, VACUUM HOSE, NO.1
44785GASKET, BRAKE BOOSTER
4702BRAKE MASTER CYLINDER
47262ANUT, MASTER CYLINDER PUSH ROD CLEVIS LOCK
47264DCLEVIS, BRAKE MASTER CYLINDER PUSH ROD
83390HSWITCH ASSY, VACUUM WARNING
83390JGROMMET, VACUUM WARNING SWITCH
9017906274
main90179-06274
9415180800
main94151-80800
18 parts on this diagram · 1 diagram in section