REAR FLOOR PANEL & REAR FLOOR MEMBER

4804REAR SPRING & SHOCK ABSORBER
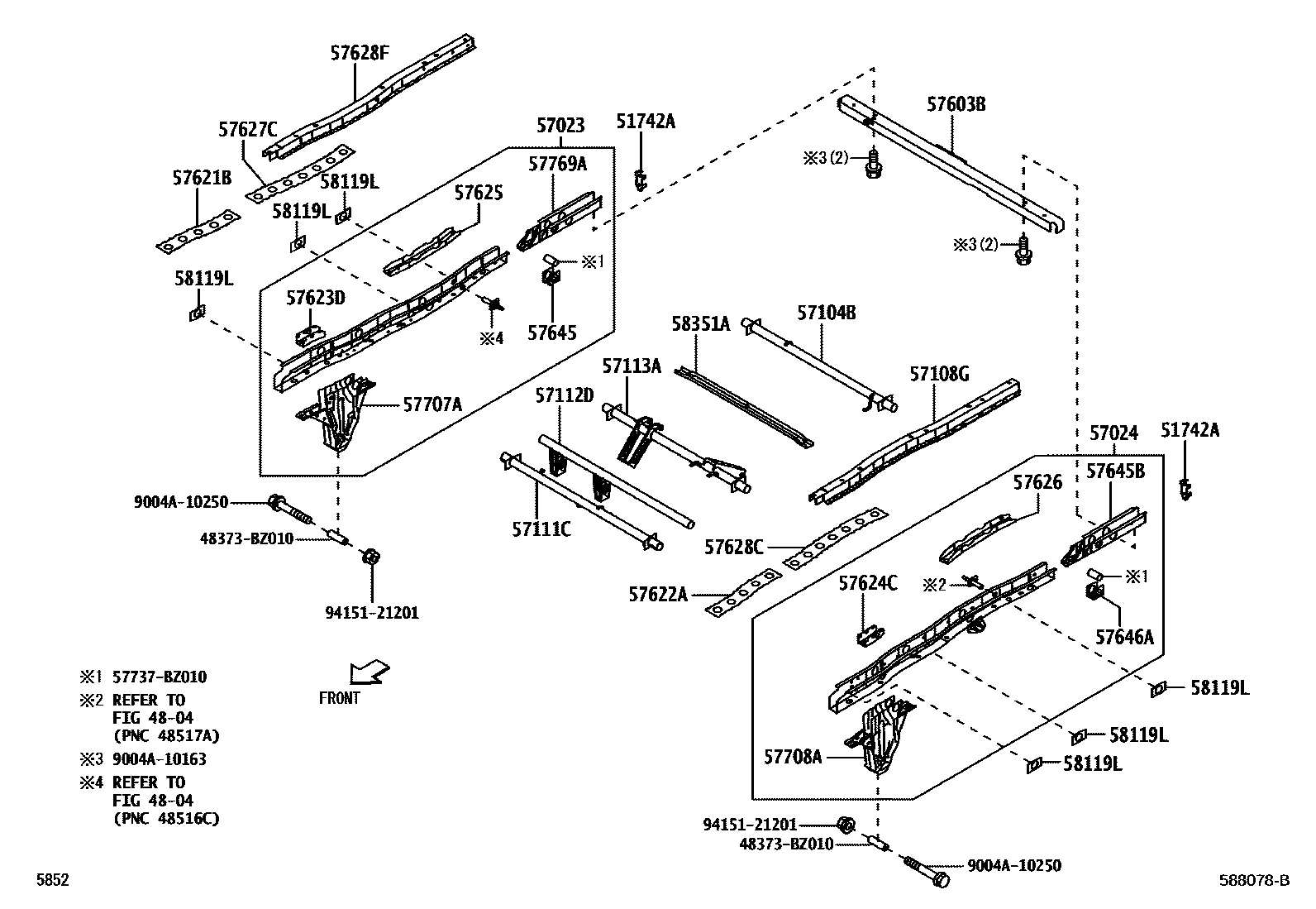
51742ABRACKET, REAR BODY MOUNTING, NO.2
57023MEMBER SUB-ASSY, REAR SIDE, RH
57024MEMBER SUB-ASSY, REAR SIDE, LH
57104BCROSSMEMBER SUB-ASSY, FLOOR, NO.4
57108GPLATE SUB-ASSY, SIDE FRAME, NO.3 LH
57111CCROSSMEMBER, FLOOR, NO.1
57112DCROSSMEMBER, FLOOR, NO.2
57113ACROSSMEMBER, FLOOR, NO.3
57603BMEMBER SUB-ASSY, REAR FLOOR SIDE REAR, CENTER
57621BPLATE, REAR FLOOR SIDE MEMBER, FRONT RH
57622APLATE, REAR FLOOR SIDE MEMBER, FRONT LH
57623DPLATE, REAR FLOOR SIDE MEMBER, RR RH
57624CPLATE, REAR FLOOR SIDE MEMBER, RR LH
57625REINFORCEMENT, REAR FLOOR SIDE MEMBER, RH
57626REINFORCEMENT, REAR FLOOR SIDE MEMBER, LH
57627CCOVER, REAR FLOOR SIDE MEMBER, RH
57628CCOVER, REAR FLOOR SIDE MEMBER, LH
57628FPLATE, REAR FLOOR SIDE MEMBER, RH
57645REINFORCEMENT, REAR SIDE MEMBER, RH
57645BREINFORCEMENT, REAR SIDE MEMBER
57646AREINFORCEMENT, REAR SIDE MEMBER, LH
57707APLATE SUB-ASSY, REAR SPRING, RH
57708APLATE SUB-ASSY, REAR SPRING, LH
57769AREINFORCEMENT, UPPER CONTROL LINK BRACKET
58119LPLATE, REAR FLOOR SIDE
58351ABRACKET, SPARE WHEEL CARRIER
48373BZ010SPACER, REAR SPRING
main48373-BZ010
57737BZ010REINFORCEMENT, DIFFERENTIAL SUPPORT MEMBER MOUNTING, RH
main57737-BZ010
9004A10163
main9004A-10163
9004A10250
main9004A-10250
9415121201
main94151-21201
32 parts on this diagram · 3 diagrams in section