E
EPC Data

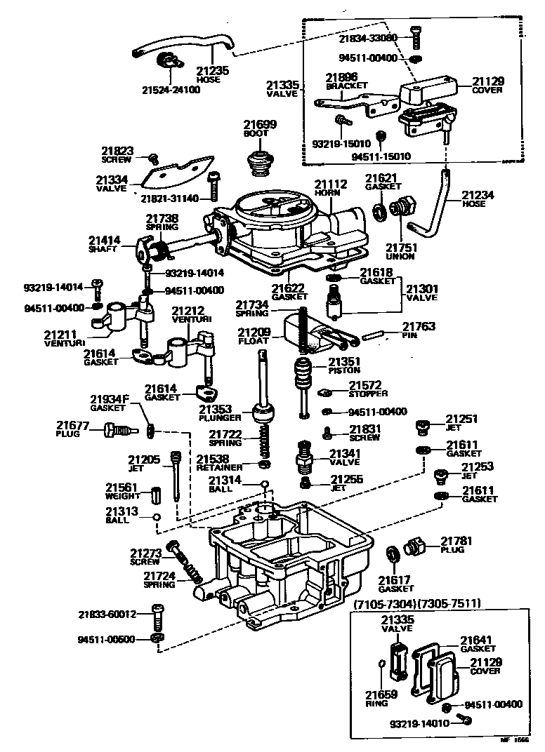
CARBURETOR

Parts diagram
21112HORN, AIR
main21012-24100i197511-197802
main21112-13030i197802-197909
main21112-24030i197105-197112
main21112-24031i197112-197211
main21112-24032i197211-197308
main21112-24340i197308-197511
21129COVER(FOR THERMOSTATIC VALVE)
main21129-24030i197305-197511
main21129-24160i197304-197305
21205JET SUB-ASSY, SLOW
main21205-13010i197802-197909
main21205-22010i197105-197304
ID=0.47
main21205-24011i197304-197310
ID=0.47
main90999-44145i197511-197802
ID=0.45
main90999-44147i197310-197511
ID=0.47
21209FLOAT SUB-ASSY
main21209-24010i197105-197802
main21209-24480i197802-197909
21211VENTURI, 1ST SMALL
main21211-22040i197105-197511
21212VENTURI, 2ND SMALL
main21212-22011i197105-197511
21234PIPE OR HOSE
main21234-24100i197304-197305
main21234-24360i197511-197802
main21234-24361i197802-197909
21235PIPE OR HOSE, CONNECTING
main21235-13030i197802-197909
LOWER,L=30
main21235-24100i197304-197305
main21235-24160i197511-197802
L=123,LWR
main21249-13030i197802-197909
UPPER,L=130
21251JET, 1ST MAIN
main21251-24010i197105-197201
ID=1.08
main90999-41088i197511-197802
ID=0.88
main90999-41101i197802-197909
ID=1.01
main90999-41104i197304-197511
ID=1.04
main90999-41108i197201-197304
ID=1.08
21253JET, 2ND MAIN
main21253-24100i197105-197201
ID=1.44
main90999-42144i197201-197511
ID=1.44
main90999-42153i197802-197909
ID=1.53
main90999-42159i197511-197802
ID=1.59
21255JET, POWER
main21255-24100i197105-197511
ID=0.675
main90999-43060i197802-197909
ID=0.6
main90999-43070i197511-197802
ID=0.7
21273SCREW, THROTTLE ADJUSTING
main21273-22011i197105-197304
main21273-24230i197304-197909
21301VALVE SUB-ASSY, NEEDLE
main21301-24010i197105-197112
main21301-24030i197112-197511
main21301-24360i197511-197902
main21301-24500i197902-197909
21313BALL, STEEL, NO.1(FOR DISCHARGE WEIGHT)
main21313-11020i197105-197909
21314BALL, STEEL, NO.2(FOR PUMP PLUNGER)
main21314-60010i197105-197909
21334VALVE, CHOKE
main21334-22010i197105-197304
main21334-25030i197304-197511
21335VALVE, THERMOSTATIC
main21061-24100i197304-197305
main21061-24102i197511-197802
main21335-22010i197105-197304
21341VALVE, POWER
main21304-30010i197105-197511
main21341-24030i197511-197909
21351PISTON, POWER
main21351-33080i197305-197909
main21708-22010i197105-197305
21353PLUNGER, PUMP
main21305-22011i197105-197909
21414SHAFT, CHOKE
main21054-13030i197802-197909
main21054-24010i197511-197802
main21403-22011i197105-197511
21538RETAINER, BALL CHECK
main21538-31010i197105-197909
21561WEIGHT, PUMP DISCHARGE
main21561-22010i197105-197909
21572STOP, POWER PISTON
main21572-22010i197105-197305
main21572-33080i197305-197511
21611GASKET, MAIN JET
main21611-22010×2i197105-197909
21614GASKET, VENTURI
main21614-22010×2i197105-197511
main21614-24360i197511-197909
2ND
21617GASKET, MAIN PASSAGE PLUG
main21617-30010×2i197304-197909
main21649-22010×2i197105-197304
21618GASKET, NEEDLE VALVE SEAT
main21618-21010i197105-197112
main21618-24030i197112-197909
21621GASKET, UNION NIPPLE
main21633-24030i197105-197909
21622GASKET, AIR HORN
main21622-24010i197105-197211
main21622-24011i197211-197511
main21622-24360i197511-197909
21641GASKET(FOR THERMOSTATIC VALVE COVER)
main21641-23010i197105-197304
21659RING, O(FOR THERMOSTATIC VALVE)
main21641-24030i197105-197304
21677PLUG
main21677-24100i197304-197511
21699BOOT(FOR PUMP PLUNGER)
main21699-21061i197105-197909
21722SPRING, PUMP DAMPING
main21722-22010i197105-197511
21724SPRING, THROTTLE ADJUSTING
main21726-40010i197105-197304
main21864-24230i197304-197909
21734SPRING, POWER PISTON
main21734-22010i197105-197511
main21734-24030i197511-197909
21738SPRING, CHOKE VALVE RELIEF
main21738-22013i197105-197304
main21738-24030i197304-197511
21751UNION, NIPPLE
main21751-24031i197105-197112
main21751-24032i197112-197511
21763PIN, FLOAT LEVER
main21763-29270i197105-197511
main21763-38010i197511-197909
21781PLUG, MAIN PASSAGE(FOR CARBURETOR JET)
main21677-22010i197105-197304
main21781-30020i197304-197511
21823SCREW, CHOKE, VALVE SET
main21822-10011×2i197105-197511
21831SCREW, POWER PISTON STOP
main21842-33010i197105-197909
21896BRACKET, THERMOSTATIC VALVE
main21896-24100i197304-197305
21934SOLENOID, THROTTLE VALVE
main21062-13030i197802-197909
main21062-24360i197511-197802
21934FGASKET
main21617-10010i197304-197909
2152424100BRACKET(FOR DASH POT)
2182131140SCREW, 2ND THROTTLE VALVE SET
2183360012SCREW, SET, NO.1(FOR CARBURETOR BODY SET)
2183433080SCREW, SET, NO.2(FOR CARBURETOR BODY SET)
9321914010
9321914014
9321915010
9451100400
9451100500
9451115010

56 parts on this diagram · 10 diagrams in section

CARBURETOR — Toyota Parts Diagram with OEM Numbers & Prices | EPC Data