E
EPC Data

RADIO COMMUNICATION & ETC

Parts diagram
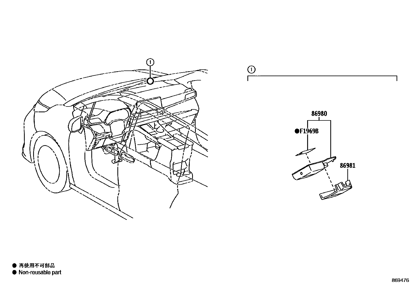
86980COMPUTER ASSY, TOLL COLLECTION
main86980-YY020i202211
ETC-WITH
86981COVER, TOLL COLLECTION
main86980-YY030i202211
ETC-WITH
F1969BTAPE, SEAL (FOR TOLL COLLECTION COMPUTER)
mainF1969YY020i202211
ETC-WITH

3 parts on this diagram · 1 diagram in section

RADIO COMMUNICATION & ETC — Toyota Parts Diagram with OEM Numbers & Prices | EPC Data