E
EPC Data

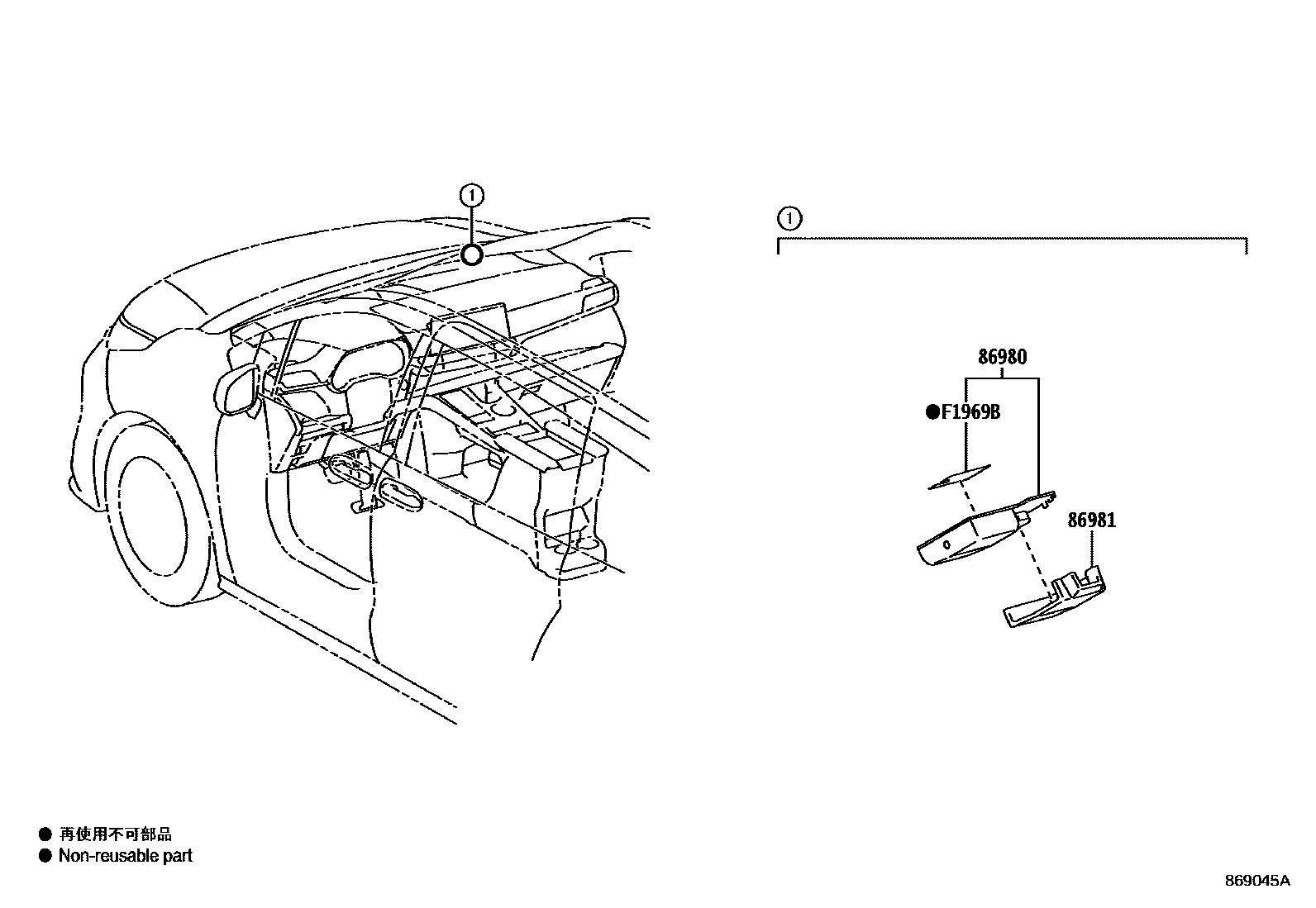
RADIO COMMUNICATION & ETC

Parts diagram
86980COMPUTER ASSY, TOLL COLLECTION
main86980-YY050i202112-202210
ETC-WITH
86981COVER, TOLL COLLECTION
main86980-YY070i202112-202210
ETC-WITH
F1969BTAPE, SEAL (FOR TOLL COLLECTION COMPUTER)
mainF1969YY040i202112-202210
ETC-WITH

3 parts on this diagram · 1 diagram in section

RADIO COMMUNICATION & ETC — Toyota Parts Diagram with OEM Numbers & Prices | EPC Data