E
EPC Data

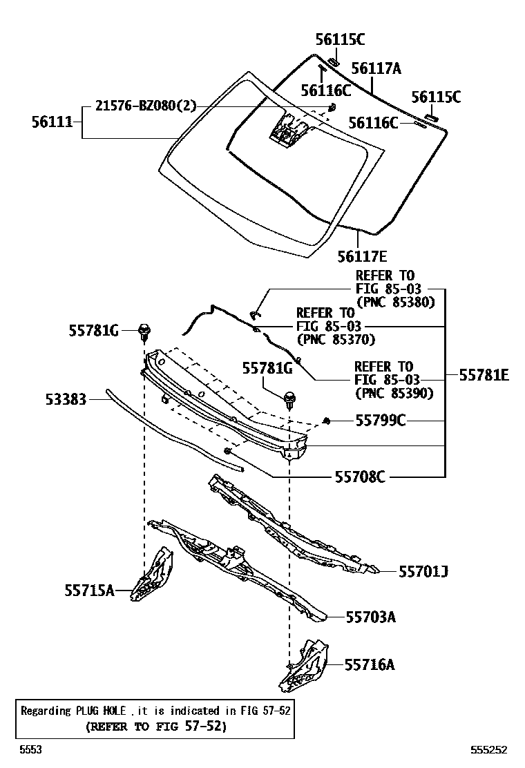
COWL PANEL & WINDSHIELD GLASS

Parts diagram
53383SEAL, HOOD TO COWL TOP
main53383-BZ170i202206
55701JPANEL SUB-ASSY, COWL TOP, OUTER
main55701-BZ250i202206
55703APANEL SUB-ASSY, COWL TOP, INNER
main55703-BZ750i202206
55708CCLIP, COWL TOP VENTILATOR LOUVER
main90467-10161×3i202206
55715ABRACE, COWL TOP TO APRON, RH
main55715-BZ070i202206
55716ABRACE, COWL TOP TO APRON, LH
main55716-BZ080i202206
55781ELOUVER SUB-ASSY, COWL TOP VENTILATOR
main55708-BZ190i202206
55781GCLIP, COWL TOP VENTILATOR LOUVER
main90044-68378×2i202206
55799CCLIP, COWL TOP VENTILATOR LOUVER
main67771-B2100×8i202206
56111GLASS, WINDSHIELD
main56101-BZ500i202206
56115CSTOPPER, WINDSHIELD GLASS
main56115-97402×2i202206
56116CSTOPPER, WINDSHIELD GLASS, NO.2
main56116-97401×2i202206
56117ADAM, WINDOW GLASS ADHESIVE
main56117-BZ250i202206
*D,L=2757
56117EDAM, WINDOW GLASS ADHESIVE
main56117-BZ260i202206
*D,L=1275
5752
8503
21576BZ080CLIP, PUMP STRAINER

17 parts on this diagram · 1 diagram in section

COWL PANEL & WINDSHIELD GLASS — Toyota Parts Diagram with OEM Numbers & Prices | EPC Data