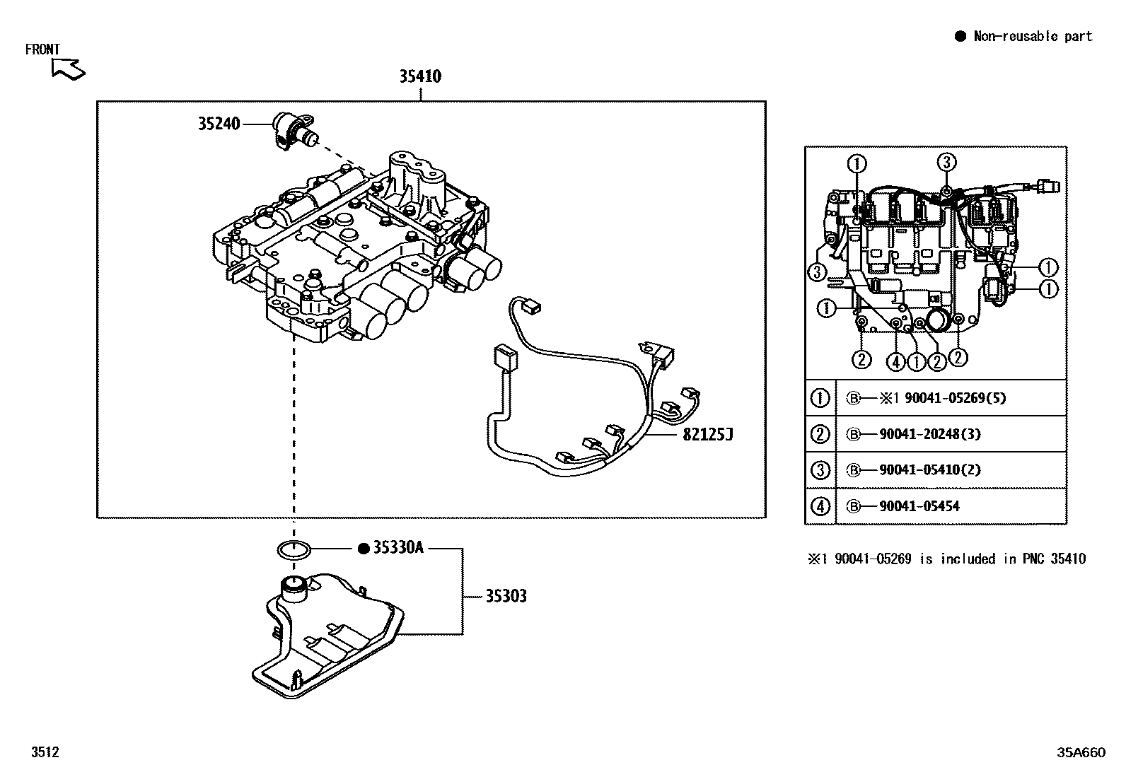
VALVE BODY & OIL STRAINER (ATM)

35240SOLENOID ASSY, AUTOMATIC TRANSMISSION 3WAY
35303STRAINER SUB-ASSY, OIL
35330ARING, O (FOR OIL STRAINER)
35410BODY ASSY, TRANSMISSION VALVE
82125JWIRE, TRANSMISSION
9004105269
main90041-05269
9004105410
main90041-05410
9004105454
main90041-05454
9004120248
main90041-20248
9 parts on this diagram · 1 diagram in section