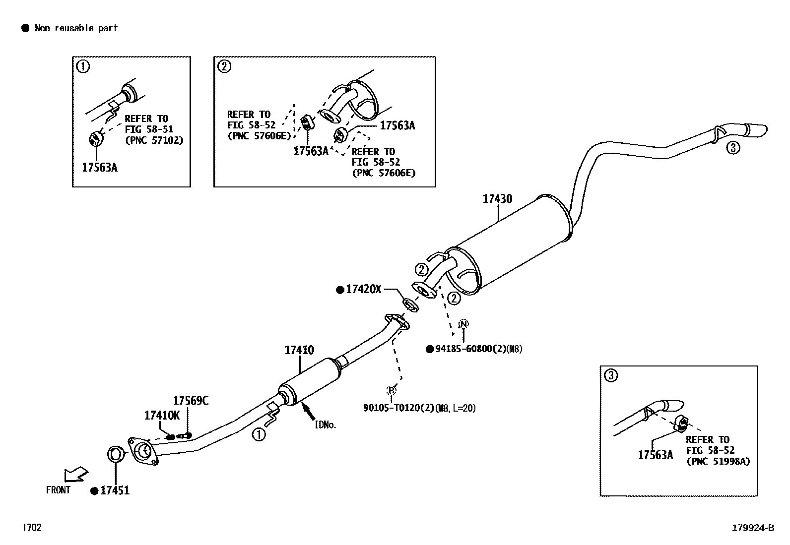
EXHAUST PIPE

17410PIPE ASSY, EXHAUST, FRONT
ID NO. = 3BZ21
ID NO. = BZ150,NEPAL
MALAYSIA
17410KSPRING, EXHAUST PIPE
17420XGASKET, EXHAUST PIPE, CENTER
17430PIPE ASSY, EXHAUST, TAIL
17451GASKET, EXHAUST PIPE
17563ASUPPORT, EXHAUST PIPE, NO.3
17569CBOLT, EXHAUST PIPE SUPPORT
5851
5852
90105T0120
main90105-T0120
9418560800
main94185-60800
11 parts on this diagram · 1 diagram in section