E
EPC Data

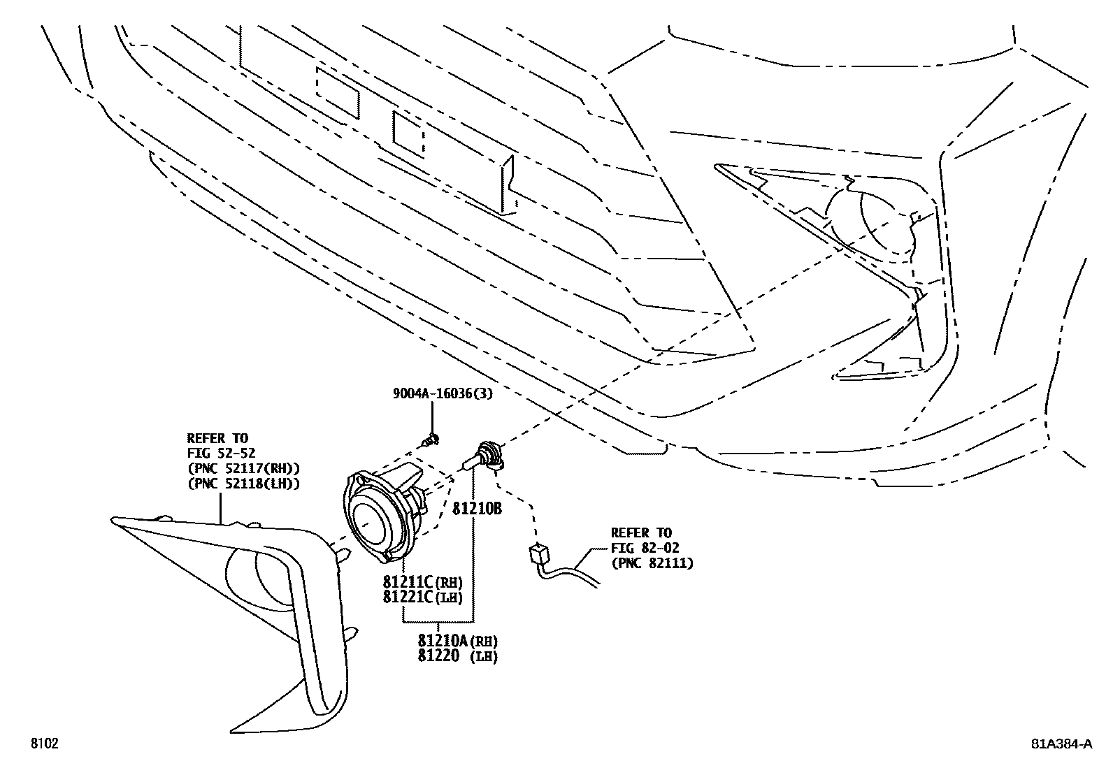
FOG LAMP

Parts diagram
5252FRONT BUMPER & BUMPER STAY
81210ALAMP ASSY, FOG, RH
main81210-BZ160i202111
81210BBULB, FOG LAMP
main90049-51185×2i202111
12V 19W H16
81211CLAMP UNIT, FOG LAMP, RH
main81211-BZ060i202111
81220LAMP ASSY, FOG, LH
main81220-BZ160i202111
81221CLAMP UNIT, FOG LAMP, LH
main81221-BZ060i202111
8202WIRING & CLAMP
9004A16036

8 parts on this diagram · 1 diagram in section

FOG LAMP — Toyota Parts Diagram with OEM Numbers & Prices | EPC Data