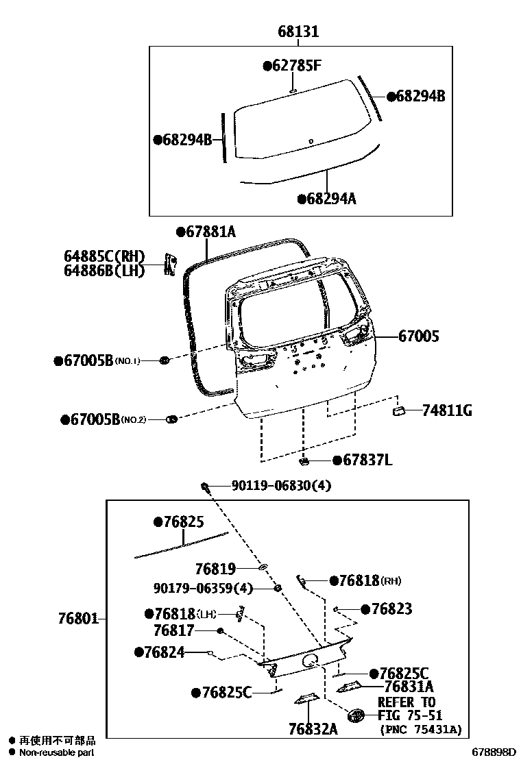
BACK DOOR PANEL & GLASS

62785FSPACER, BACK DOOR GLASS
main68294-26030iGUN142..5F..24V..IDN;TGN140..PHLP..(20,N);TGN140..PHLP..6FC..20E;GUN142..5F..(24G,24Z,G);TGN140..IDNP..(IDN,PHL);TGN140..(20E,20V)..(MA,VN);GUN143..(28,28E,28V,N)..201607-202304
64885CCHANNEL, BACK DOOR GLASS, RH
main64885-0K060iTGN140..GEN,TH;GUN14#,TGN141..(20G,24V,27,28,28V,G,SRV)..(GCC,GEN,LA,TH)201511-202304
64886BCHANNEL, BACK DOOR GLASS, LH
67005PANEL SUB-ASSY, BACK DOOR
BACK MONITOR-WITH
AUDIO-*DA(10KHZ) & *BT
AUDIO-*DA & DVD & *BT
AUDIO-*DA(10KHZ) & DVD & *BT
AUDIO-AVN & DVD & *BT
AUDIO-*DA & *BT
67005BCUSHION(FOR BACK DOOR PANEL)
NO.2:REFER ILLUST.
NO.2:REFER ILLUST.
main90541-T0002iTGN140..GEN,TH;GUN14#,TGN141..(20G,24V,27,28,28V,G,SRV)..(GCC,GEN,LA,TH)201511-202304
NO.1:REFER ILLUST.
67837LSEAL, DOOR DUST PROOF
68131GLASS, BACK DOOR
GRADE MARK-V
68294ADAM, BACK DOOR GLASS ADHESIVE
68294BDAM, BACK DOOR GLASS ADHESIVE
74811GHANDLE, DOOR PULL
BLACK,TRIM2#,4#
BLACK,TRIM2#
BLACK,TRIM4#
7551
76801GARNISH SUB-ASSY, BACK DOOR, OUTSIDE
PAINT REQ.,WITH(MLM LUXURY)
PAINT REQ.,WITH(MLM PACKAGE(TMMIN VENTURER))
PAINT REQ.,WITH(MLM PACKAGE)
PAINT REQ.
PAINT REQ.,AUDIO-*DA(10KHZ) & *BT
PAINT REQ.
AUDIO-*DA & DVD & *BT
AUDIO-*DA(10KHZ) & DVD & *BT
AUDIO-AVN & DVD & *BT
PAINT REQ.,WITH(MLM PACKAGE)&AUDIO-*DA & *BT
PAINT REQ.,AUDIO-*DA & *BT
76817CLIP, BACK DOOR OUTSIDE GARNISH
(J)
WITH(MLM PACKAGE(TMMIN VENTURER)),(J)
WITH(MLM PACKAGE),(J)
WITH(MLM PACKAGE)
(L)
main90467-T0019iTGN140..PHLP..N;TGN140..20E..VN;TGN140..IDNP..(IDN,PHL);GUN143..(28,28E,28V,N)..PHL;GUN142,TGN141..IDN,MA,TH,VN;TGN140..(MAP,PHLP)..6FC..(20,20E,20V)202009
WITH(MLM PACKAGE(TMMIN VENTURER))
main90467-T0019iTGN140..PHLP..N;TGN140..20E..VN;TGN140..IDNP..(IDN,PHL);GUN143..(28,28E,28V,N)..PHL;GUN142,TGN141..IDN,MA,TH,VN;TGN140..(MAP,PHLP)..6FC..(20,20E,20V)202009
WITH(MLM LUXURY)
76818PAD, BACK DOOR OUTSIDE GARNISH
RH
main76818-0K070iTGN140..PHLP..(20,N);TGN140..PHLP..6FC..20E;TGN140..IDNP..(IDN,PHL);TGN140..(20E,20V)..(MA,VN);GUN142,TGN141..IDN,MA,TH,VN;GUN143..(28,28E,28V,N)..PHL202009
WITH(MLM PACKAGE(TMMIN VENTURER)),RH
LH
WITH(TKM VANGUARD),RH
RH
LH
76819SEAL, BACK DOOR OUTSIDE GARNISH
main76819-0K010iTGN140..PHLP..(20,N);TGN140..PHLP..6FC..20E;TGN140..IDNP..(IDN,PHL);TGN140..(20E,20V)..(MA,VN);GUN142,TGN141..IDN,MA,TH,VN;GUN143..(28,28E,28V,N)..PHL202009
WITH(MLM PACKAGE(TMMIN VENTURER))
WITH(TKM VANGUARD)
76823PROTECTOR, BACK DOOR GARNISH MOULDING, RH
main76823-0K030iGUN142..GEN,IDN;TGN141..5F..27..LA;GUN143,TGN141..6FC..(GCC,LA);GUN143,TGN140..IDNP..(IDN,PHL,TH)201511-202304
main76823-0K030iTGN140..PHLP..(20,N);TGN140..PHLP..6FC..20E;TGN140..IDNP..(IDN,PHL);TGN140..(20E,20V)..(MA,VN);GUN142,TGN141..IDN,MA,TH,VN;GUN143..(28,28E,28V,N)..PHL202009
WITH(MLM PACKAGE(TMMIN VENTURER))
WITH(TKM VANGUARD)
76824PROTECTOR, BACK DOOR GARNISH MOULDING, LH
main76823-0K030iTGN140..PHLP..(20,N);TGN140..PHLP..6FC..20E;TGN140..IDNP..(IDN,PHL);TGN140..(20E,20V)..(MA,VN);GUN142,TGN141..IDN,MA,TH,VN;GUN143..(28,28E,28V,N)..PHL202009
WITH(MLM PACKAGE(TMMIN VENTURER))
WITH(TKM VANGUARD)
sub76823-0K030
sub76823-0K040
76825PROTECTOR, BACK DOOR OUTSIDE GARNISH
main76825-0K160iTGN140..PHLP..(20,N);TGN140..PHLP..6FC..20E;TGN140..IDNP..(IDN,PHL);TGN140..(20E,20V)..(MA,VN);GUN142,TGN141..IDN,MA,TH,VN;GUN143..(28,28E,28V,N)..PHL202009
WITH(MLM PACKAGE(TMMIN VENTURER))
WITH(TKM VANGUARD)
76825CPROTECTOR, BACK DOOR OUTSIDE GARNISH
main76825-0K170iGUN142..GEN,IDN;TGN141..5F..27..LA;GUN143,TGN141..6FC..(GCC,LA);GUN143,TGN140..IDNP..(IDN,PHL,TH)201511-202304
main76825-0K170iTGN140..PHLP..(20,N);TGN140..PHLP..6FC..20E;TGN140..IDNP..(IDN,PHL);TGN140..(20E,20V)..(MA,VN);GUN142,TGN141..IDN,MA,TH,VN;GUN143..(28,28E,28V,N)..PHL202009
WITH(MLM PACKAGE(TMMIN VENTURER))
WITH(TKM VANGUARD)
76831ACOVER, BACK DOOR FINISH PANEL, RH
main76831-0K010iTGN140..PHLP..(20,N);TGN140..PHLP..6FC..20E;TGN140..IDNP..(IDN,PHL);TGN140..(20E,20V)..(MA,VN);GUN142,TGN141..IDN,MA,TH,VN;GUN143..(28,28E,28V,N)..PHL202009
WITH(MLM PACKAGE(TMMIN VENTURER))
WITH(TKM VANGUARD)
76832ACOVER, BACK DOOR FINISH PANEL, LH
main76832-0K010iTGN140..GEN,TH;GUN14#,TGN141..(20G,24V,27,28,28V,G,SRV)..(GCC,GEN,LA,TH)201511-202304
main76832-0K010iTGN140..PHLP..(20,N);TGN140..PHLP..6FC..20E;TGN140..IDNP..(IDN,PHL);TGN140..(20E,20V)..(MA,VN);GUN142,TGN141..IDN,MA,TH,VN;GUN143..(28,28E,28V,N)..PHL202009
WITH(MLM PACKAGE(TMMIN VENTURER))
WITH(TKM VANGUARD)
9011906830
main90119-06830
9017906359
main90179-06359
24 parts on this diagram · 3 diagrams in section