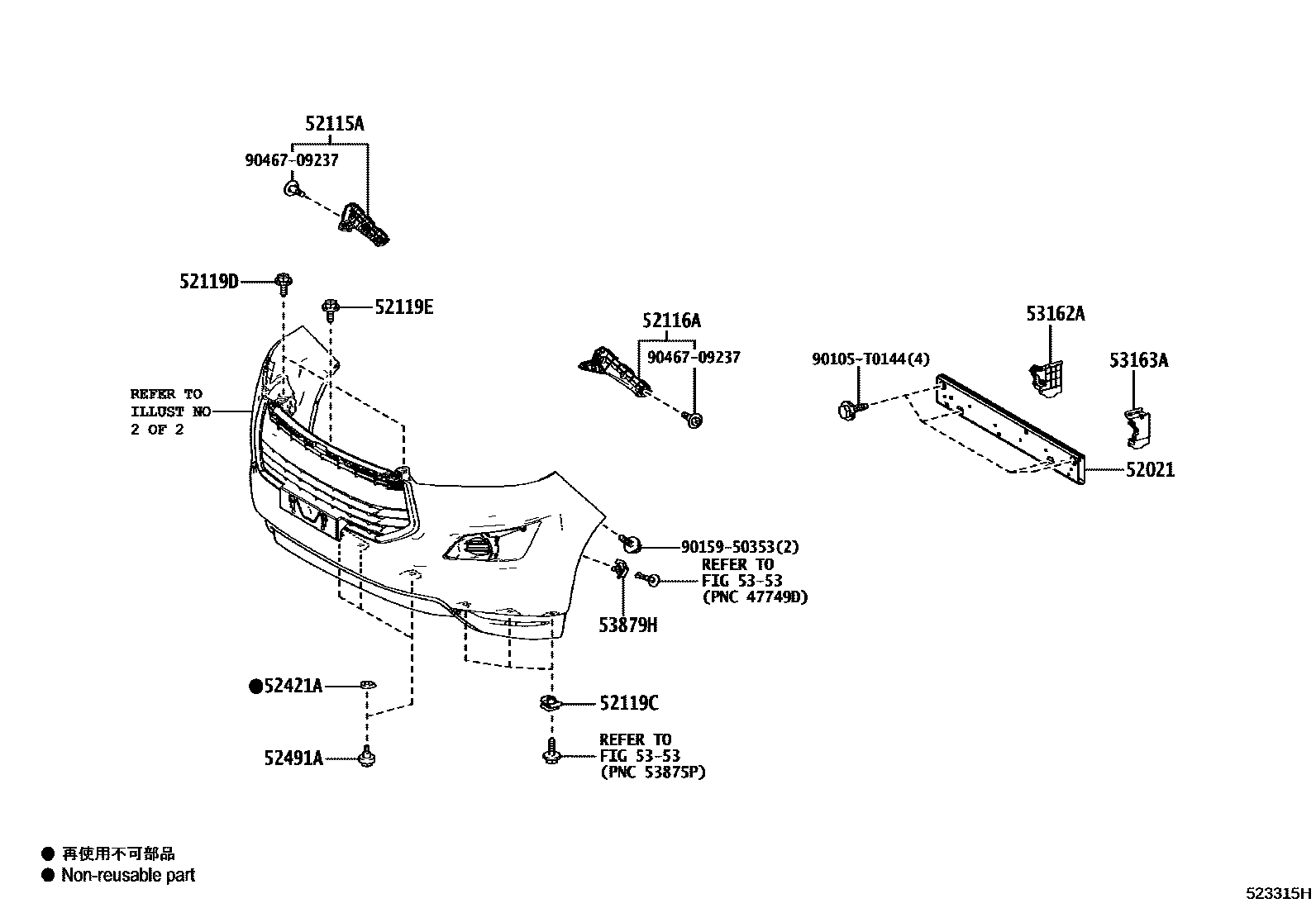
FRONT BUMPER & BUMPER STAY

52021REINFORCEMENT SUB-ASSY, FRONT BUMPER
52115ASUPPORT, FRONT BUMPER SIDE, RH
52116ASUPPORT, FRONT BUMPER SIDE, LH
52119CCLIP, FRONT BUMPER COVER
52119DSCREW, NO.1
(J)
(L)
WITH(MLM PACKAGE),(L)
WITH(MLM PACKAGE(TMMIN VENTURER)),(L)
WITH(MLM PACKAGE)
WITH(MLM PACKAGE)&FRONT FOG LAMP-WITH(LED)
WITH(MLM PACKAGE)&FRONT FOG LAMP-WITH(LED),(L)
52119ESCREW, NO.2
main90159-60431iGUN142..5F..24V..IDN;TGN140..PHLP..(20,N);GUN142..6FC..(IDN,TH);TGN140..PHLP..6FC..20E;TGN140..IDNP..(IDN,PHL);GUN143..(28E,28V,N)..PHL;GUN14#..(IDNP,INDP)..5F..(24201511-202310
(J)
(L)
WITH(MLM PACKAGE),(L)
WITH(MLM PACKAGE(TMMIN VENTURER)),(L)
WITH(MLM PACKAGE)
WITH(MLM PACKAGE)&FRONT FOG LAMP-WITH(LED)
WITH(MLM PACKAGE)&FRONT FOG LAMP-WITH(LED),(L)
52421APAD, FRONT BUMPER
main52421-60191iTGN140..GEN,TH;GUN14#,TGN141..(20G,24V,27,28,28V,G,SRV)..(GCC,GEN,LA,TH)202009-202304
WITH(MLM PACKAGE),(J)
main52421-60191iTGN140..GEN,TH;GUN14#,TGN141..(20G,24V,27,28,28V,G,SRV)..(GCC,GEN,LA,TH)202009-202304
WITH(MLM PACKAGE)&CLEARANCE & BACK SONAR-WITH(FRONT & REAR),(J)
main52421-60191iTGN140..GEN,TH;GUN14#,TGN141..(20G,24V,27,28,28V,G,SRV)..(GCC,GEN,LA,TH)202009-202304
WITH(MLM PACKAGE(TMMIN VENTURER)),(J)
main52421-60191iGUN142..5F..24V..IDN;TGN140..PHLP..(20,N);TGN140..PHLP..6FC..20E;GUN142..5F..(24G,24Z,G);TGN140..IDNP..(IDN,PHL);TGN140..(20E,20V)..(MA,VN);GUN143..(28,28E,28V,N)..202009
WITH(MLM LUXURY),(J)
52491ABOLT, BUMPER PAD
53162ADEFLECTOR, FRONT BUMPER STONE, RH
53163ADEFLECTOR, FRONT BUMPER STONE, LH
5353
53879HRETAINER, FRONT FENDER LINER
main53879-50020iTGN140..PHLP..(20,N);TGN140..PHLP..6FC..20E;TGN140..IDNP..(IDN,PHL);TGN140..(20E,20V)..(MA,VN);GUN142,TGN141..IDN,MA,TH,VN;GUN143..(28,28E,28V,N)..PHL201511-202304
90105T0144
main90105-T0144
9015950353
main90159-50353
9046709237
main90467-09237
15 parts on this diagram · 8 diagrams in section