E
EPC Data

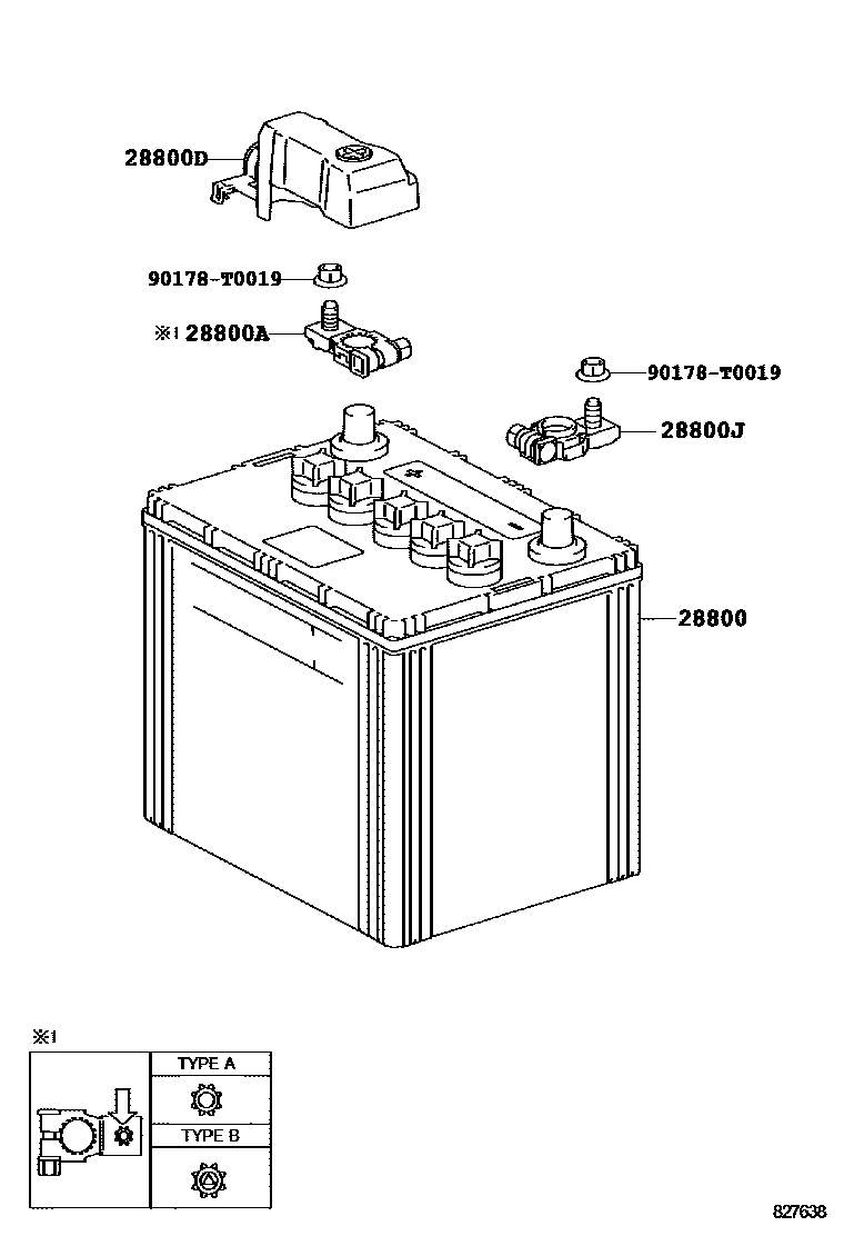
BATTERY & BATTERY CABLE

Parts diagram
28800BATTERY
main28800-06050i201202-201603
55D23L
main28800-0C050i201107-201510
55D23L
main28800-0C060i201107-201510
34B19L(S)
main28800-0C070i201107-201510
55D23L
main28800-0C200i201110-201601
34B19L(S)
main28800-0C230i201202-201303
36B20L(S)
main28800-0D070i201202-201603
34B19L
main28800-0H060i201110-201601
55D23L
main28800-0H080i201303-201611
55D23L
main28800-0L040i201107-201510
80D26L
main28800-0L200i201202-201603
80D26L
28800ATERMINAL, BATTERY POSITIVE
main90982-05056supersedes 90982-05054i201107-201611
TYPE A:REFER ILLUST.
main90982-05060i201201-201501
main90982-05066i201107-201611
TYPE B:REFER ILLUST.
28800DCOVER, CONNECTOR(FOR BATTERY TERMINAL)
main82821-0K030i201107-201611
P/N LABEL=828210K030
main82821-0K070i201107-201611
P/N LABEL=828210K070
main82821-0K080supersedes 82821-0K040i201201-201501
28800JTERMINAL, BATTERY NEGATIVE
main90982-06058i201201-201501
main90982-06059i201107-201611
90178T0019

5 parts on this diagram · 1 diagram in section

BATTERY & BATTERY CABLE — Toyota Parts Diagram with OEM Numbers & Prices | EPC Data