E
EPC Data

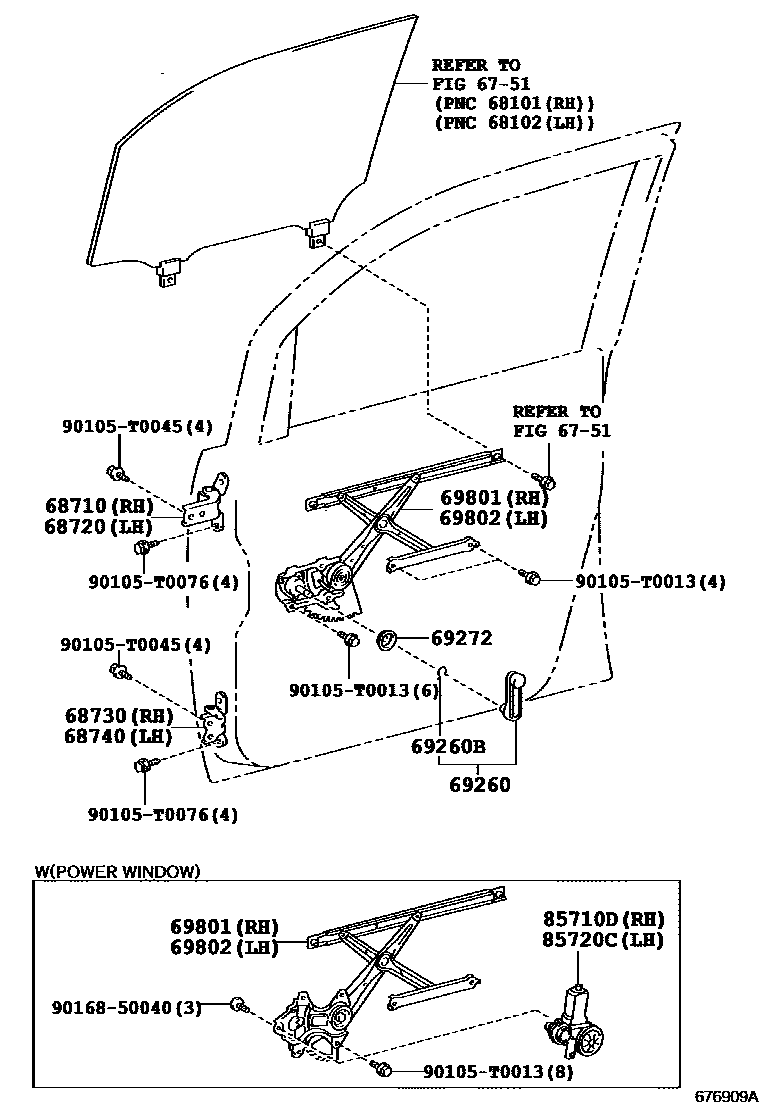
FRONT DOOR WINDOW REGULATOR & HINGE

Parts diagram
6751FRONT DOOR PANEL & GLASS
68710HINGE ASSY, FRONT DOOR, UPPER RH
main68710-0K020i201107-201611
main68710-0K030i201201-201603
68720HINGE ASSY, FRONT DOOR, UPPER LH
main68720-0K020i201107-201611
main68720-0K030i201201-201603
68730HINGE ASSY, FRONT DOOR, LOWER RH
main68730-0K020i201107-201611
main68730-0K030i201201-201603
68740HINGE ASSY, FRONT DOOR, LOWER LH
main68740-0K020i201107-201611
main68740-0K030i201201-201603
69260HANDLE ASSY, FRONT DOOR WINDOW REGULATOR
main69260-0K010-B1×2i201202-201403
MD.GRAY,TRIM1#
main69260-0K010-E0×2i201107-201510
GREGE,TRIM4#
main69260-0K030-E0×2i201201-201501
GREGE,TRIM4#
main69260-0K030-E1×2i201501-201603
ORK,TRIM4#
main69260-22030-B7×2i201202-201603
MD.GRAY,TRIM1#
69260BRING, SHAFT SNAP(FOR FRONT DOOR WINDOW REGULATOR HANDLE)
main90520-01274i201107-201603
69272PLATE, FRONT DOOR REGULATOR INSIDE HANDLE
main69268-04020×2i201107-201403
main69285-22010×2i201201-201603
69801REGULATOR SUB-ASSY, FRONT DOOR WINDOW, RH
main69801-0K030i201403-201611
main69801-0K040supersedes 69810-0K070i201201-201603
main69810-0K050i201107-201403
69802REGULATOR SUB-ASSY, FRONT DOOR WINDOW, LH
main69802-0K030i201107-201611
main69802-0K040supersedes 69820-0K070i201201-201603
main69820-0K050i201107-201403
85710DMOTOR ASSY, POWER WINDOW REGULATOR, RH
main85710-02380i201201-201603
main85710-0K010i201107-201611
main85710-0K030i201107-201601
85720CMOTOR ASSY, POWER WINDOW REGULATOR, LH
main85720-02360i201201-201603
main85720-0K010i201403-201611
main85720-0K050i201202-201603
90105T0013
90105T0045
90105T0076
9016850040

16 parts on this diagram · 1 diagram in section

FRONT DOOR WINDOW REGULATOR & HINGE — Toyota Parts Diagram with OEM Numbers & Prices | EPC Data