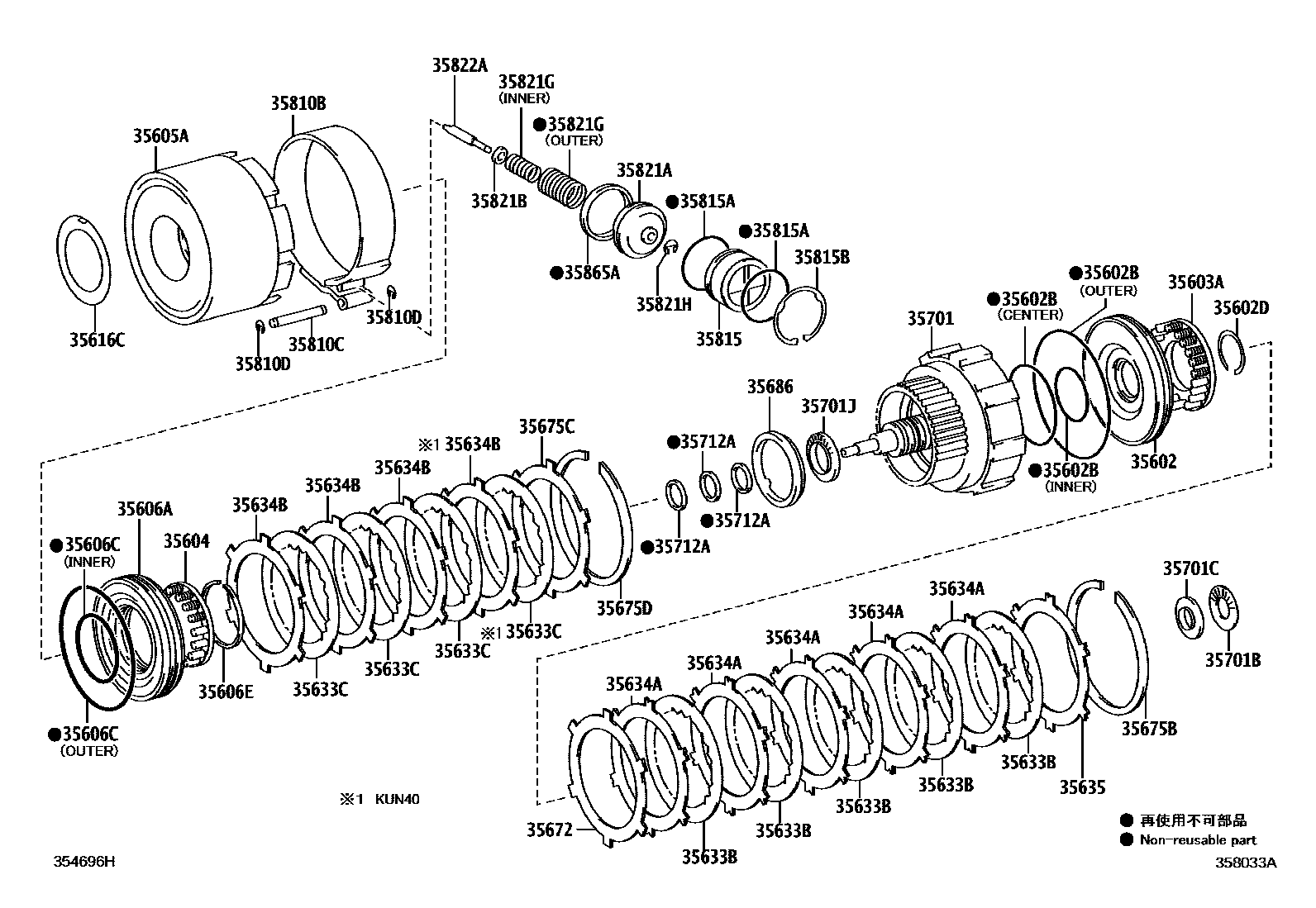
BRAKE BAND & MULTIPLE DISC CLUTCH (ATM)

35602PISTON SUB-ASSY, FRONT CLUTCH
35602BRING, O (FOR FORWARD CLUTCH PISTON)
INNER
CENTER
OUTER
35602DRING, SHAFT SNAP(FOR FORWARD CLUTCH PISTON RETURN SPRING)
35603ASPRING SUB-ASSY, FORWARD CLUTCH RETURN
35604SPRING SUB-ASSY, DIRECT CLUTCH RETURN
35605DRUM SUB-ASSY, REAR CLUTCH W/2ND SUN GEAR
35605ADRUM SUB-ASSY, DIRECT CLUTCH
35606PISTON SUB-ASSY, REAR CLUTCH
35606APISTON SUB-ASSY, DIRECT CLUTCH
35606CRING, O (FOR DIRECT CLUTCH PISTON)
INNER
OUTER
35606ERING, SHAFT SNAP (FOR DIRECT CLUTCH PISTON RETURN SPRING)
35616CWASHER, CLUTCH DRUM THRUST (FOR DIRECT CLUTCH DRUM)
35633DISC, CLUTCH (FOR FRONT CLUTCH)
35633BDISC, CLUTCH (FOR FORWARD MULTIPLE DISC CLUTCH)
35633CDISC, CLUTCH (FOR DIRECT MULTIPLE DISC CLUTCH)
35634PLATE, FRONT CLUTCH
T=1.8
T=2.0
35634APLATE, CLUTCH (FOR FORWARD MULTIPLE DISC CLUTCH)
T=2.3
35634BPLATE, CLUTCH (FOR DIRECT MULTIPLE DISC CLUTCH)
T=2.3
35635FLANGE, FORWARD CLUTCH
T=4.0,MARK 95
T=3.8,MARK 94
T=3.6,MARK 93
T=3.4,MARK 92
T=3.2,MARK 91
T=3.0,MARK 90
T=4.2,MARK 96
T=4.4,MARK 97
35672PLATE, CLUTCH CUSHION
35675FLANGE, REAR CLUTCH
T=3.55
T=3.75
T=4.0
35675BRING, HOLE SNAP (FOR FORWARD CLUTCH FLANGE)
35675CFLANGE, DIRECT CLUTCH
T=3.5,MARK 55
T=3.6,MARK 56
T=3.7,MARK 57
T=3.3,MARK 53
T=3.4,MARK 54
T=3.8,MARK 58
T=4.0,MARK 60
T=4.2,MARK 62
35675DRING, HOLE SNAP (FOR DIRECT CLUTCH FLANGE)
35686WASHER, CLUTCH DRUM THRUST (FOR INPUT SHAFT)
35701SHAFT SUB-ASSY, INPUT
35701BBEARING, THRUST NEEDLE ROLLER (FOR INPUT SHAFT REAR)
35701CRACE, THRUST BEARING (FOR INPUT SHAFT REAR)
35701JBEARING, THRUST NEEDLE ROLLER (FOR INPUT SHAFT FRONT)
35712ARING, INPUT SHAFT OIL SEAL
35810BBAND ASSY, 2ND COAST BRAKE
35810CPIN (FOR 2ND COAST BRAKE BAND)
35810DRING, E (FOR 2ND COAST BRAKE BAND PIN)
35815COVER, 2ND COAST BRAKE
35815ARING, O (FOR 2ND COAST BRAKE COVER)
35815BRING, HOLE SNAP (FOR 2ND COAST BRAKE COVER)
35821APISTON, 2ND COAST BRAKE
35821BWASHER, PLATE (FOR 2ND COAST BRAKE PISTON)
35821GSPRING, COMPRESSION (FOR 2ND COAST BRAKE PISTON)
OUTER
INNER
35821HRING, E (FOR 2ND COAST BRAKE PISTON)
35822AROD, 2ND COAST BRAKE PISTON
L=78.4
L=79.9
35865ARING, 2ND COAST BRAKE PISTON OIL SEAL
42 parts on this diagram · 2 diagrams in section