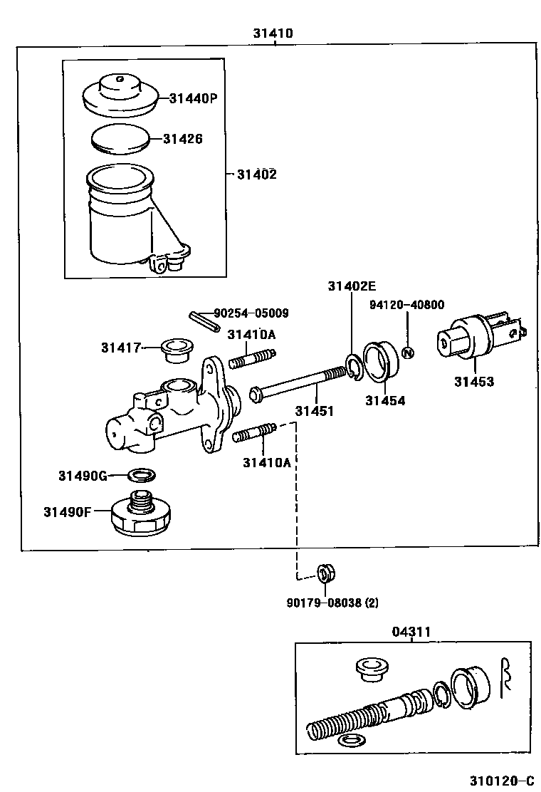
CLUTCH MASTER CYLINDER

31402RESERVOIR SUB-ASSY, CLUTCH MASTER CYLINDER
31402ERING(FOR CLUTCH MASTER CYLINDER RESERVOIR)
31410ABOLT(FOR CLUTCH MASTER CYLINDER SETTING)
31417GROMMET, CLUTCH RESERVOIR
31426FLOAT, CLUTCH MASTER CYLINDER RESERVOIR
31440PCAP ASSY, CLUTCH MASTER CYLINDER RESERVOIR FILLER
31453CLEVIS, CLUTCH MASTER CYLINDER PUSH ROD
31454BOOT, CLUTCH MASTER CYLINDER
31490FACCUMULATOR ASSY, MASTER CYLINDER
31490GGASKET(FOR CLUTCH MASTER CYLINDER ACCUMULATOR)
9017908038
main90179-08038
9025405009
main90254-05009
9412040800
main94120-40800
16 parts on this diagram · 2 diagrams in section