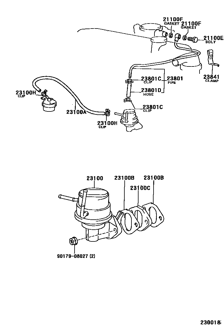
FUEL PUMP & PIPE

21100EBOLT, CARBURETOR TO CARBURETOR HOSE UNION
21100FGASKET, CARBURETOR TO CARBURETOR HOSE UNION BOLT
23100PUMP ASSY, FUEL
23100BGASKET, FUEL PUMP
W(AIR CONDITIONER)
23100CINSULATOR, FUEL PUMP
23100HCLIP(FOR FUEL HOSE)
23801PIPE OR HOSE SUB-ASSY, CARBURETOR FUEL, NO.1
23801CCLIP(FOR CARBURETOR FUEL HOSE)
23801DHOSE, FUEL PIPE, NO.1
L=200(*H,L=180)
23841CLAMP, FUEL PIPE(HOSE), NO.1
9017908027
main90179-08027
12 parts on this diagram · 2 diagrams in section