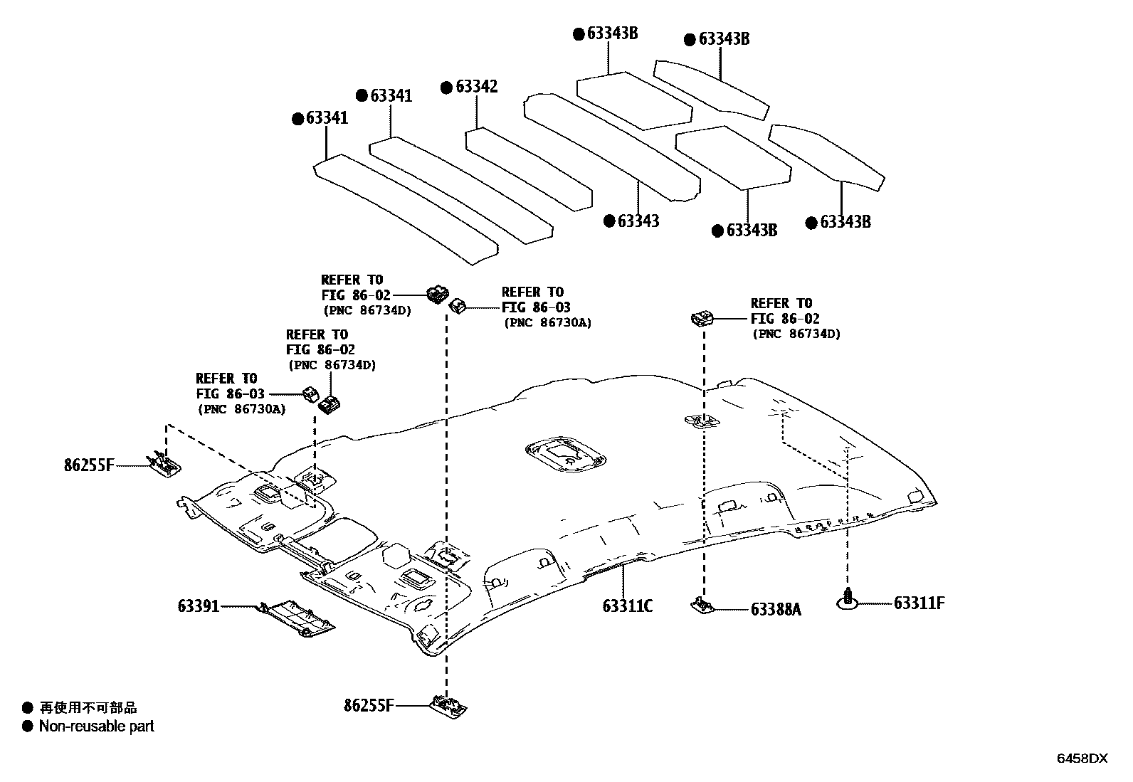
ROOF HEADLINING & SILENCER PAD

63311CHEADLINING, ROOF
BLACK,TRIM0#,2#,3#,4#
63311FCLIP, ROOF HEADLINING, NO.1
BLACK,TRIM0#,2#,3#,4#
63341PAD, ROOF SILENCER, NO.1
63342PAD, ROOF SILENCER, NO.2
63343PAD, ROOF SILENCER, NO.3
63343BPAD, ROOF SILENCER, REAR
63388ACOVER, ROOF HEADLINING HOLDER
BLACK,TRIM0#,2#,3#,4#
63391TRIM, ROOF HEADLINING, FRONT
8602SPEAKER
8603NAVIGATION & FRONT MONITOR DISPLAY
86255FCASE, MICROPHONE
BLACK,TRIM0#,2#,3#,4#
11 parts on this diagram · 1 diagram in section