RADIO COMMUNICATION & ETC

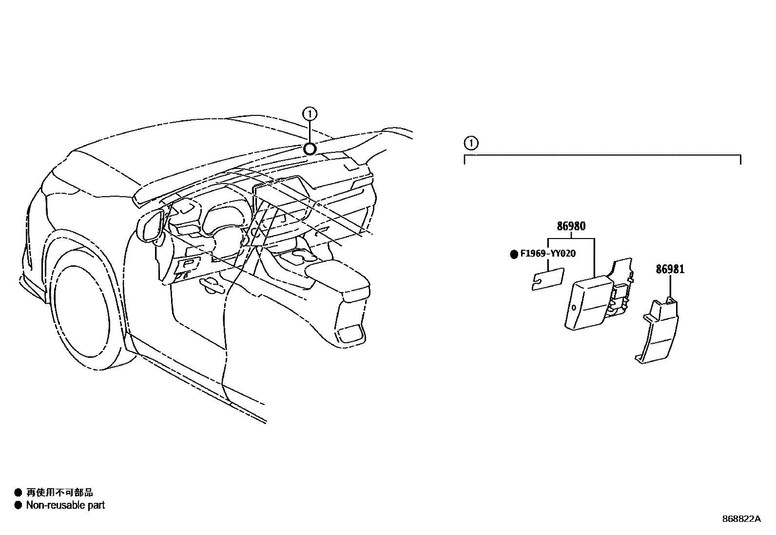
86980COMPUTER ASSY, TOLL COLLECTION
ETC-WITH(DOP)
86981COVER, TOLL COLLECTION
ETC-WITH(DOP)
F1969YY020TAPE, SEAL(FOR TOLL COLLECTION COMPUTER)
mainF1969-YY020
3 parts on this diagram · 1 diagram in section

3 parts on this diagram · 1 diagram in section