E
EPC Data

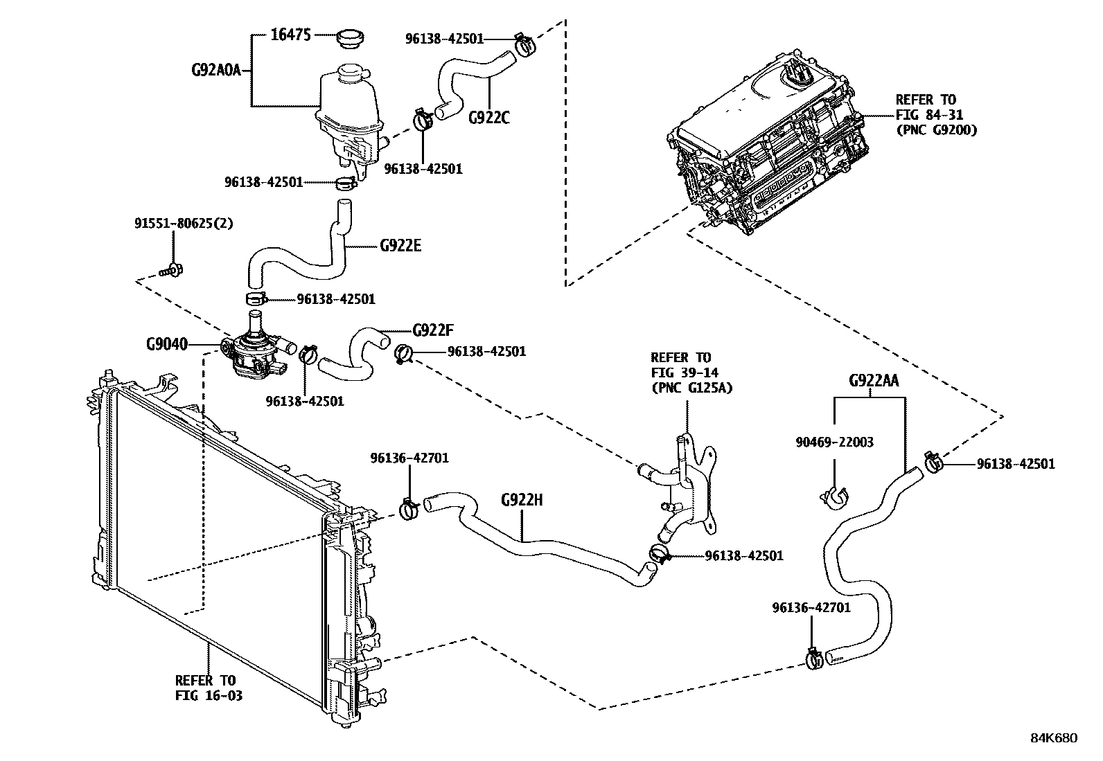
INVERTER COOLING

Parts diagram
1603
16475CAP, RESERVE TANK
main16475-28140i201910
3914
8431
G9040INVERTER WATER PUMP ASSY(W/MOTOR)
mainG904047040i201910
G922AAHOSE, INVERTER COOLING INLET, NO.1
mainG922A47010i201910
G922CHOSE, INVERTER COOLING OUTLET, NO.1
mainG922C47010i201910
G922EHOSE, HYBRID WATER PUMP INLET
mainG922E47010i201910
G922FHOSE, HYBRID WATER PUMP OUTLET, NO.1
mainG922F47010i201910
G922HHOSE, HYBRID RADIATOR INLET
mainG922H47010i201910
G92A0ATANK ASSY, INVERTER RESERVE
mainG91H047011i201910
9046922003
9155180625
9613642701
9613842501

15 parts on this diagram · 1 diagram in section

INVERTER COOLING — Toyota Parts Diagram with OEM Numbers & Prices | EPC Data