E
EPC Data

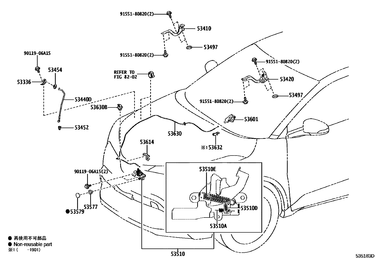
HOOD LOCK & HINGE

Parts diagram
53336BRACKET, HOOD STAY, RH
main53336-10010i201612-201910
53410HINGE ASSY, HOOD, RH
main53410-10100i201612-201910
53420HINGE ASSY, HOOD, LH
main53420-10090i201612-201910
53440DSUPPORT ASSY, HOOD
main53440-10090i201612-201910
53452HOLDER, HOOD STAY
main53452-10010i201612-201910
53454CLIP, HOOD SUPPORT ROD
main53454-12030i201612-201910
53497PAD, HOOD HINGE, NO.1
main53497-42010i201806-201910
T=0.5
53510LOCK ASSY, HOOD
main53510-10240i201612-201910
53510ASPRING, TENSION(FOR HOOD LOCK)
main90506-09052i201612-201910
WD=0.9,CW=20.75
53510DSPRING, TENSION(FOR HOOD LOCK)
main90506-12063i201612-201910
WD=1.2,CW=8.5
53510ESPRING, TENSION(FOR HOOD LOCK)
main90506-16077i201612-201910
WD=1.6,CW=12
53577BOLT, HOOD LOCK
main53577-33010i201612-201910
53579CAP, HOOD LOCK NUT
main53579-50010i201612-201910
53601LEVER SUB-ASSY, HOOD LOCK CONTROL
main53601-30100-C0i201910
BLACK,TRIM2#,4#
main53601-52010-C1i201612-201901
BLACK,TRIM2#
53614CLAMP, HOOD LOCK CONTROL CABLE
main53614-10030i201612-201910
53630CABLE ASSY, HOOD LOCK CONTROL
main53630-10270i201612-201901
main53630-10271i201901-201910
53630BCLAMP(FOR HOOD LOCK CONTROL CABLE)
main90469-06005i201612-201910
53632HOLDER, HOOD LOCK CONTROL CABLE
main53632-10010i201612-201901
8202
9011906A15
9155180820

21 parts on this diagram · 1 diagram in section

HOOD LOCK & HINGE — Toyota Parts Diagram with OEM Numbers & Prices | EPC Data