E
EPC Data

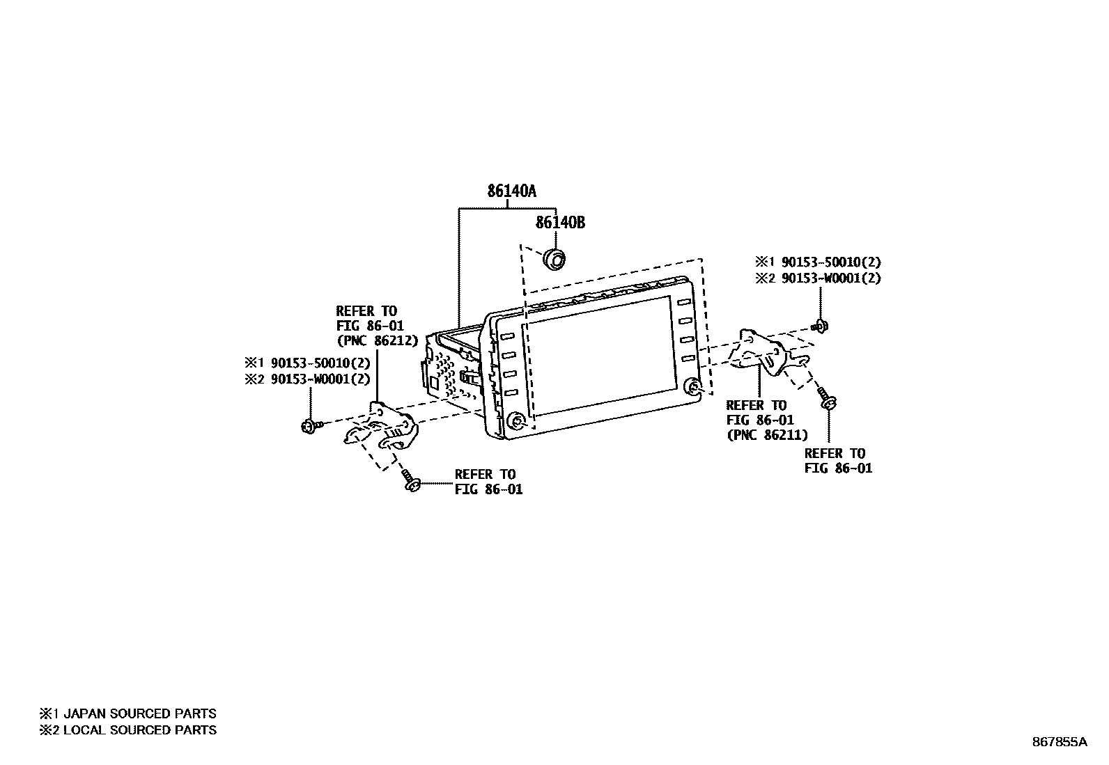
NAVIGATION & FRONT MONITOR DISPLAY

Parts diagram
8601
86140ARECEIVER ASSY, RADIO & DISPLAY
main86140-F4120i201909
DENSO TEN
main86140-F4130i201909
DENSO TEN,SOUTH AFRICA SPEC
main86140-F4200i201909
DENSO TEN,AUDIO-*DA, FOR GCC
main86140-F4210i201909
DENSO TEN,U.A.E SPEC&AUDIO-*DA, FOR GCC
86140BKNOB, RADIO & DISPLAY RECEIVER SWITCH
main90011-25306×2i201909
U.A.E SPEC&AUDIO-*DA, FOR GCC
9015350010
90153W0001

5 parts on this diagram · 1 diagram in section

NAVIGATION & FRONT MONITOR DISPLAY — Toyota Parts Diagram with OEM Numbers & Prices | EPC Data