E
EPC Data

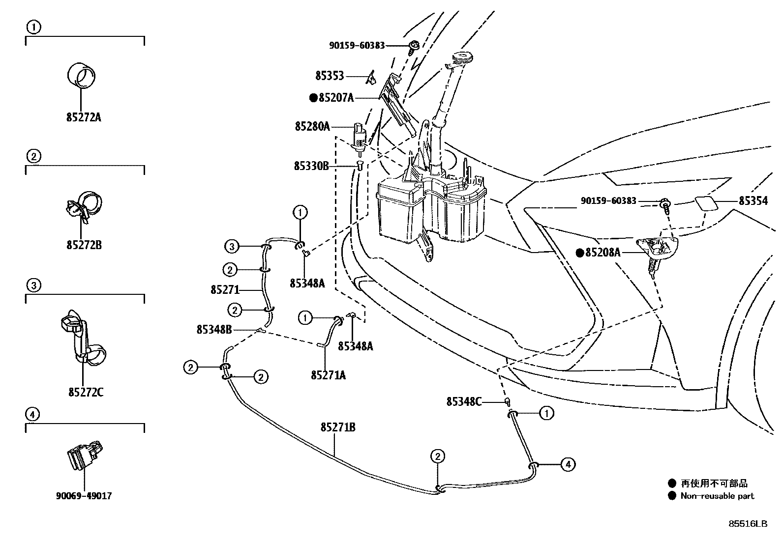
HEADLAMP CLEANER

Parts diagram
85207AACTUATOR SUB-ASSY, HEADLAMP WASHER, RH
main85207-F4030i202310
COLD AREA SPEC
85208AACTUATOR SUB-ASSY, HEADLAMP WASHER, LH
main85208-F4030i202310
COLD AREA SPEC
85271HOSE, HEADLAMP CLEANER, NO.1
main85276-F4030i202310
L=515.5,COLD AREA SPEC
main85276-F4040i202401
L=311.5,COLD AREA SPEC
85271AHOSE, HEADLAMP CLEANER, NO.2
main85277-F4030i202310
L=172.5,COLD AREA SPEC
main85277-F4040i202401
L=118,COLD AREA SPEC
85271BHOSE, HEADLAMP CLEANER, NO.3
main85275-F4030i202310
L=1958,COLD AREA SPEC
main85275-F4040i202401
L=2170,COLD AREA SPEC
85272ACLAMP, HEADLAMP CLEANER, NO.1
main90069-48011×3i202310
COLD AREA SPEC
85272BCLAMP, HEADLAMP CLEANER, NO.2
main82711-12A60×5i202310
COLD AREA SPEC
85272CCLAMP, HEADLAMP CLEANER, NO.3
main82711-3F400i202310
COLD AREA SPEC
85280AMOTOR AND PUMP ASSY, HEADLAMP CLEANER
main85280-0F011i202310
COLD AREA SPEC&HEADLAMP CLEANER-WITH; COLD AREA SPEC&HEADLAMP CLEANER-WITH&INSIDE REAR VIEW MIRROR-DIGITAL INNER MIRROR
85330BBUSH, HEADLAMP CLEANER WASHER JAR
main90069-50010i202310
COLD AREA SPEC&HEADLAMP CLEANER-WITH; COLD AREA SPEC&HEADLAMP CLEANER-WITH&INSIDE REAR VIEW MIRROR-DIGITAL INNER MIRROR
85348AJOINT, HEADLAMP CLEANER HOSE, NO.1
main85278-0F050×2i202310
COLD AREA SPEC
85348BJOINT, HEADLAMP CLEANER HOSE, NO.2
main85279-0F050i202310
COLD AREA SPEC
85348CJOINT, HEADLAMP CLEANER HOSE, NO.3
main85279-0F055i202310
COLD AREA SPEC
85353COVER, HEADLAMP WASHER, RH
main85353-F4904i202310
COLD AREA SPEC
85354COVER, HEADLAMP WASHER, LH
main85354-F4904i202310
COLD AREA SPEC
9006949017
9015960383

17 parts on this diagram · 2 diagrams in section

HEADLAMP CLEANER — Toyota Parts Diagram with OEM Numbers & Prices | EPC Data