E
EPC Data
Pricing
Sign In
Home
›
GR
›
527310
›
IGNITION COIL & SPARK PLUG / GLOW PLUG
IGNITION COIL & SPARK PLUG / GLOW PLUG
0001 1
0002 1
0003 1
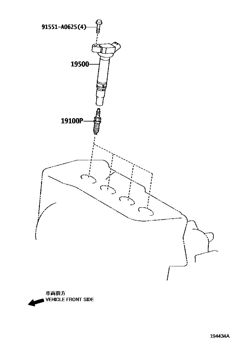
19100P
PLUG, SPARK
main
90919-01253
×4
i
3ZRFAE..ZGZ1#
201412-201503
SC20HR11
main
90919-01259
×4
i
2ARFXE..AYZ1#
201407-201709
FK16HR-A8
main
90919-01275
×4
i
3ZRFAE..ZGZ1#
201504-201709
SC16HR11
main
90919-01276
×4
i
8ARFTS..AGZ1#
201709-202109
DILFR7K9G
19500
COIL ASSY, IGNITION
main
90919-02256
×4
i
2ARFXE..AYZ1#
201407-201709
main
90919-02258
×4
i
3ZRFAE..ZGZ1#
201709
main
90919-02269
×4
i
8ARFTS..AGZ1#
201412-201709
91551A0625
main
91551-A0625
3 parts on this diagram · 3 diagrams in section
IGNITION COIL & SPARK PLUG / GLOW PLUG — Toyota Parts Diagram with OEM Numbers & Prices | EPC Data