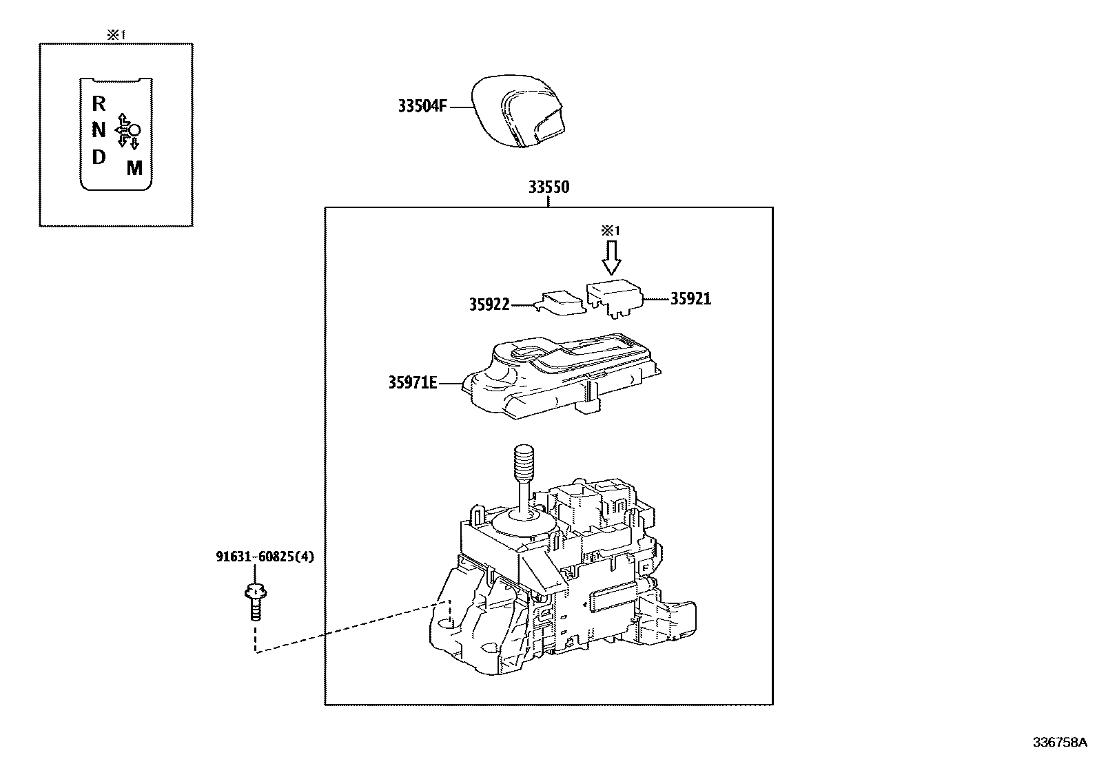
SHIFT LEVER & RETAINER

33504FKNOB SUB-ASSY, SHIFT LEVER
BLACK,TRIM0#,2#,3#,4#
BLACK,TRIM0#,2#,3#,4#
"F SPORT"*(F)&SEAT COVER MATERIAL-NATURAL LEATHER(F SPORT),BLACK,TRIM0#,2#,3#; BLACK,TRIM0#,2#,3#
main33504-78030-C0supersedes 33504-78010-C0iAAZH20,25..CHI,EUR; AAZH20,25..EUR; AAZH26..EUR;AAZH25..CHI,EUR,GEN; AAZH26..GEN; TAZA25..EUR,GEN; TAZA25..GCC;AAZH21,26..CHI,EUR;AAZH20,25..GCC,GEN202403
"VERSION L"*(L)&SEAT COVER MATERIAL-NATURAL LEATHER,BLACK,TRIM0#,2#,3#,4#; BLACK,TRIM0#,2#,3#,4#; OVERTRAIL PACKAGE&SEAT COVER MATERIAL-OVERTRAIL SYNTHETIC LEATHER,BLACK,TRIM0#,2#,3#,4#; OVERTRAIL PACKAGE&SEAT COVER MATERIAL-OVERTRAIL SYNTHETIC LEATHER,BLACK,TRIM2#; PREMIUM PACKAGE&SEAT COVER MATERIAL-NATURAL LEATHER,BLACK,TRIM0#,2#,3#,4#; SEAT COVER MATERIAL-NATURAL LEATHER,BLACK,TRIM0#,2#,3#,4#
33550FLOOR SHIFT ASSY, TRANSMISSION
*614
*614
*614
*614
*614
*614
*614
*614
*614
*614
35921PLATE, CONTROL POSITION INDICATOR
35922KNOB, TRANSMISSION PARKING SWITCH
35971EHOUSING, POSITION INDICATOR
9163160825
main91631-60825
6 parts on this diagram · 3 diagrams in section