E
EPC Data

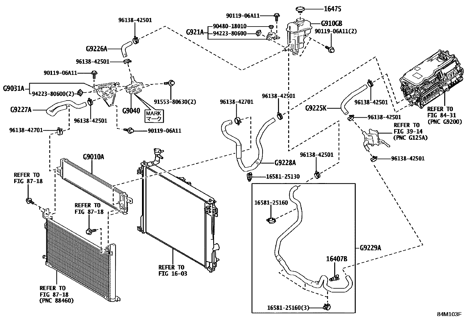
INVERTER COOLING

Parts diagram
1603
16407BCOCK SUB-ASSY, RADIATOR DRAIN
main16407-64010i202010-202112
16475CAP, RESERVE TANK
main16475-28140i202010-202210
3914
8431
8718
G9010ARADIATOR ASSY
mainG901042030i202010-202112
G9031ABRACKET SUB-ASSY, HV WATER PUMP
mainG914142010i202010-202112
mainG914178010i202112-202210
G9040INVERTER WATER PUMP ASSY(W/MOTOR)
mainG904042010i202010-202112
MARK=G
mainG904048050i202112-202210
MARK=T
G910GBTANK SUB-ASSY, INVERTER RESERVE W/O CAP
mainG910G42010i202010-202210
G921ABRACKET, INVERTER RESERVE TANK, NO.1
mainG91H242010i202010-202210
G9225KHOSE, INVERTER COOLING, NO.1
mainG922542010i202010-202210
G9226AHOSE, INVERTER COOLING, NO.2
mainG922642010i202010-202112
mainG922642020i202112-202210
G9227AHOSE, INVERTER COOLING, NO.3
mainG922742010i202010-202112
mainG922778010i202112-202210
G9228AHOSE, INVERTER COOLING, NO.4
mainG922842030i202010-202112
mainG922842050i202112-202210
G9229AHOSE, INVERTER COOLING, NO.5
mainG922942020i202010-202112
mainG922942040i202112-202210
1658125130CLAMP, HOSE(FOR WATER HOSE)
1658125160CLAMP, HOSE(FOR WATER HOSE)
9011906A11
9048018010
9155380630
9422380600
9613842501
9613842701

24 parts on this diagram · 2 diagrams in section

INVERTER COOLING — Toyota Parts Diagram with OEM Numbers & Prices | EPC Data