E
EPC Data

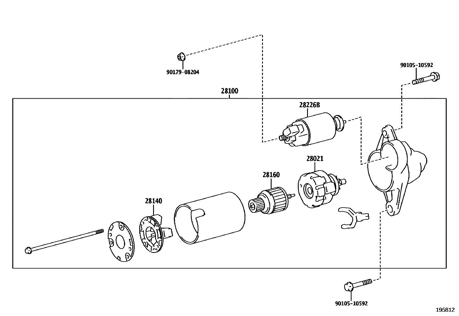
STARTER

Parts diagram
28021CLUTCH SUB-ASSY, STARTER CENTER BEARING
main28021-24120i202009-202210
28100STARTER ASSY
main28100-24120i202009-202210
12V 1.2KW
28140HOLDER ASSY, STARTER BRUSH
main28140-21070i202009-202210
28160ARMATURE ASSY, STARTER
main28160-21080i202009-202210
28226BSTARTER KIT, REPAIR SERVICE
main28226-24120i202009-202210
9010510592
9017908204

7 parts on this diagram · 1 diagram in section

STARTER — Toyota Parts Diagram with OEM Numbers & Prices | EPC Data