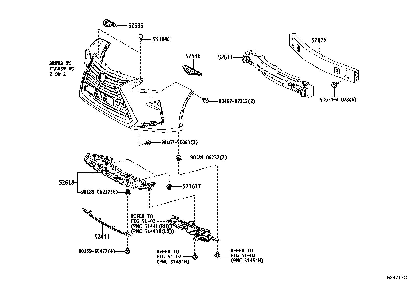
FRONT BUMPER & BUMPER STAY

5102
52021REINFORCEMENT SUB-ASSY, FRONT BUMPER
52161TPIECE, FRONT BUMPER
52535RETAINER, FRONT BUMPER SIDE, RH
52536RETAINER, FRONT BUMPER SIDE, LH
52611ABSORBER, FRONT BUMPER ENERGY
52618ABSORBER, FRONT BUMPER, LOWER
53384CCUSHION, HOOD, CENTER
9015960477
main90159-60477
9016750063
main90167-50063
9018906237
main90189-06237
9046707215
main90467-07215
91674A1028
main91674-A1028
14 parts on this diagram · 4 diagrams in section