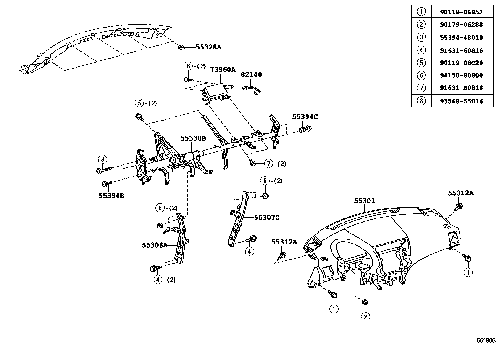
INSTRUMENT PANEL & GLOVE COMPARTMENT

55301PANEL SUB-ASSY, INSTRUMENT
BLACK,TRIM2#
BLACK,TRIM1#,2#
BLACK,TRIM1#,2#,4#
DK. BROWN,TRIM4#
55312ACLIP, INSTRUMENT PANEL
sub52161-0K040
55330BREINFORCEMENT ASSY, INSTRUMENT PANEL
55394BBOLT, INSTRUMENT PANEL
55394CBOLT, INSTRUMENT PANEL
73960AAIRBAG ASSY, INSTRUMENT PANEL PASSENGER W/O DOOR
82140WIRE ASSY, INSTRUMENT PANEL
5539448010BRACKET, INSTRUMENT PANEL TO PEDAL
main55394-48010
9011906952
main90119-06952
9011908C20
main90119-08C20
9017906288
main90179-06288
9163160816
main91631-60816
91631B0818
main91631-B0818
9356855016
main93568-55016
9415080800
main94150-80800
18 parts on this diagram · 8 diagrams in section