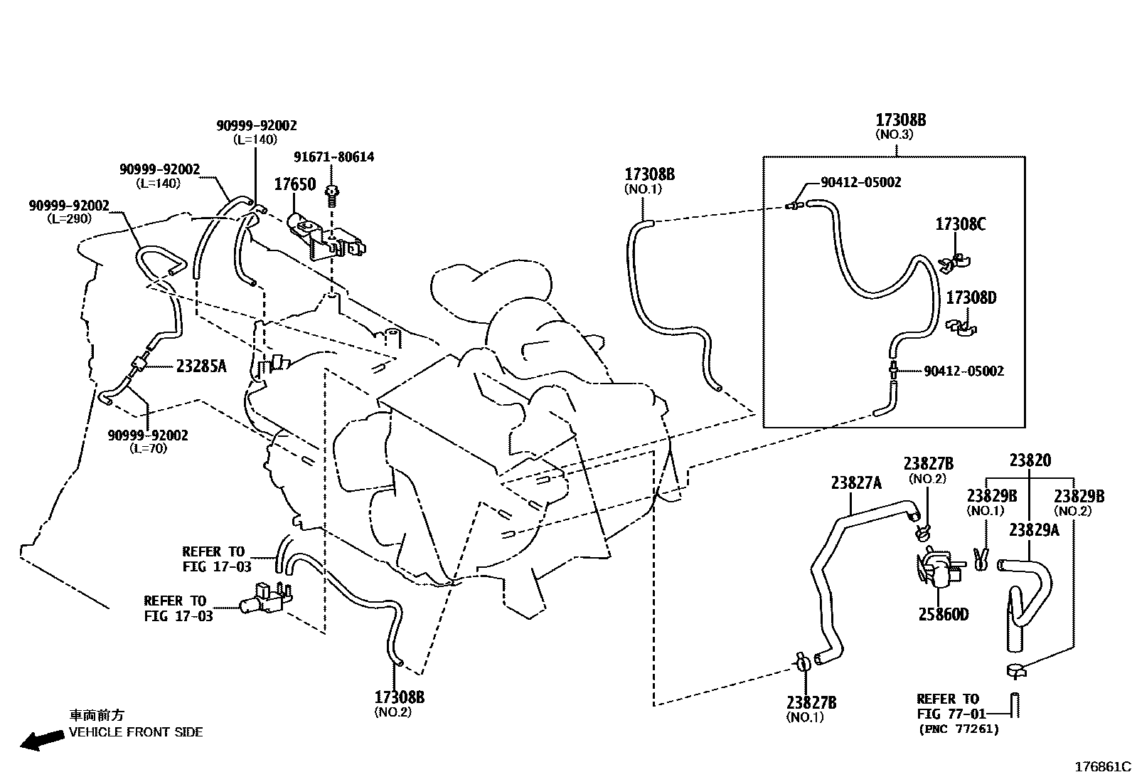
VACUUM PIPING

1703AIR CLEANER
17308HOSE SUB-ASSY, VACUUM(FOR IDLE-UP)
17308BHOSE SUB-ASSY, VACUUM
NO.3
NO.1
NO.2
17308CCLAMP(FOR VACUUM HOSE)
17308DCLAMP, NO.2(FOR VACUUM HOSE)
17650VALVE ASSY, VACUUM SWITCHING
23285AVALVE, CHECK, NO.1
23820HOSE ASSY, FUEL VAPOR FEED
23827AHOSE, FUEL VAPOR FEED, NO.2
23827BCLIP(FOR FUEL VAPOR FEED HOSE, NO.2)
NO.1
NO.2
23829AHOSE, FUEL VAPOR FEED
23829BCLIP(FOR FUEL VAPOR FEED HOSE)
NO.1
NO.2
NO.2
NO.3
25860DVALVE ASSY, VACUUM SWITCHING, NO.2
7701FUEL TANK & TUBE
9041205002
main90412-05002
9099992002
main90999-92002
9167180614
main91671-80614
17 parts on this diagram · 3 diagrams in section