E
EPC Data

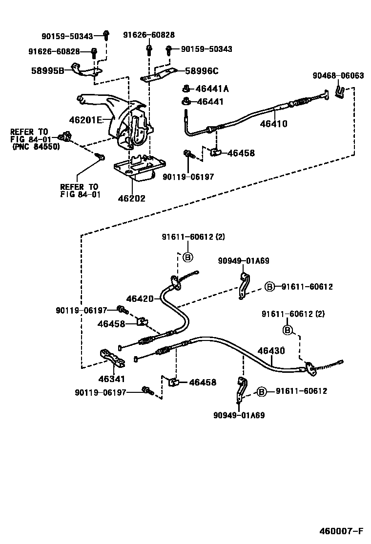
PARKING BRAKE & CABLE

Parts diagram
46201ELEVER SUB-ASSY, PARKING BRAKE
main46201-44010-B0i199908-200105
MD.MOON MIST,TRIM1#
46202BOOT SUB-ASSY, PARKING BRAKE LEVER
main46202-44010i199908
46341EQUALIZER, PARKING BRAKE
main46341-12020i199908
46410CABLE ASSY, PARKING BRAKE, NO.1
main46410-44010i199908
46420CABLE ASSY, PARKING BRAKE, NO.2
main46420-44010i199908
46430CABLE ASSY, PARKING BRAKE, NO.3
main46430-44010i199908
46441NUT, WIRE ADJUSTING, NO.1
main90179-06164i199908
46441ANUT, WIRE ADJUSTING, NO.2
main90179-06058i199908
46458RETAINER, CABLE
main46458-28010×3i199908
58995BBRACKET, CONSOLE BOX MOUNTING, NO.1
main58995-44010i199908
58996CBRACKET, CONSOLE BOX MOUNTING, NO.2
main58996-44010i199908
8401SWITCH & RELAY & COMPUTER
9011906197
9015950343
9046806063
9094901A69
9161160612
9162660828

18 parts on this diagram · 1 diagram in section

PARKING BRAKE & CABLE — Toyota Parts Diagram with OEM Numbers & Prices | EPC Data