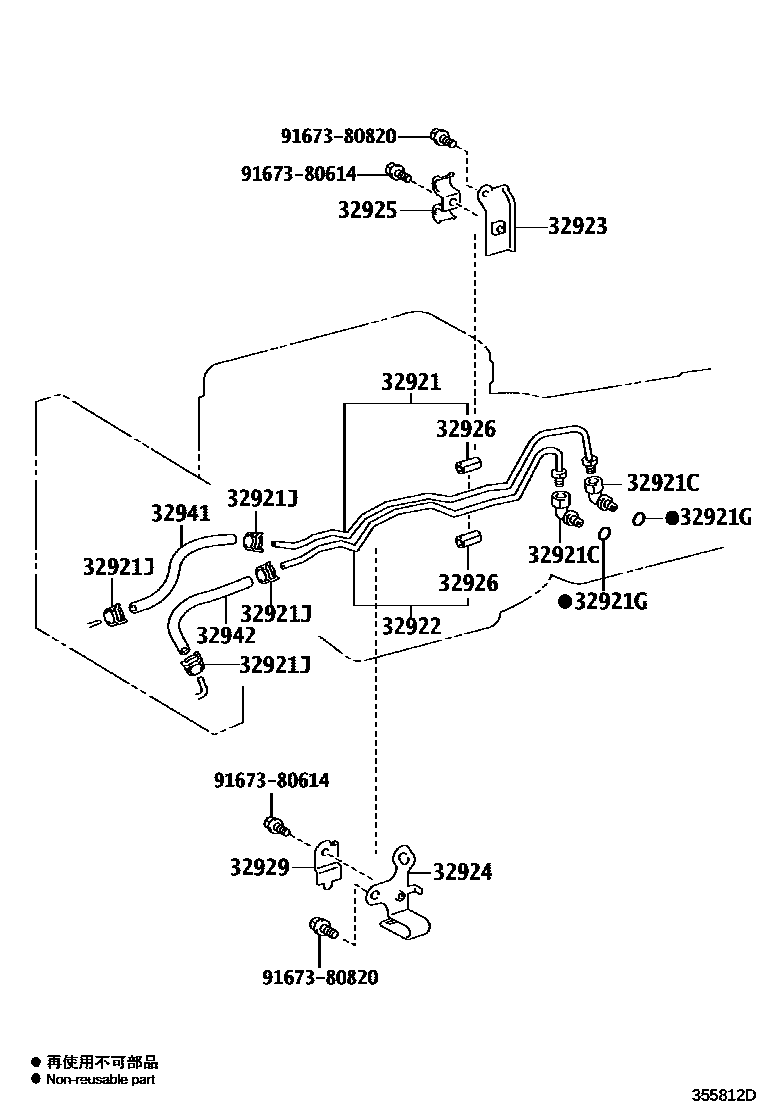
OIL COOLER & TUBE (ATM)

32921TUBE, OIL COOLER INLET, NO.1
32921GRING, O(FOR OIL COOLER TUBE UNION)
32921JCLIP(FOR OIL COOLER HOSE)
32922TUBE, OIL COOLER OUTLET, NO.1
32923CLAMP, AUTOMATIC TRANSMISSION OIL COOLER TUBE
32924CLAMP, OIL COOLER TUBE, NO.2
32925CLAMP, OIL COOLER TUBE, NO.3
32926CUSHION, OIL COOLER TUBE(ATM)
L=40,ID=10
32929CLAMP, FLEXIBLE HOSE, NO.2
9167380614
main91673-80614
9167380820
main91673-80820
14 parts on this diagram · 2 diagrams in section