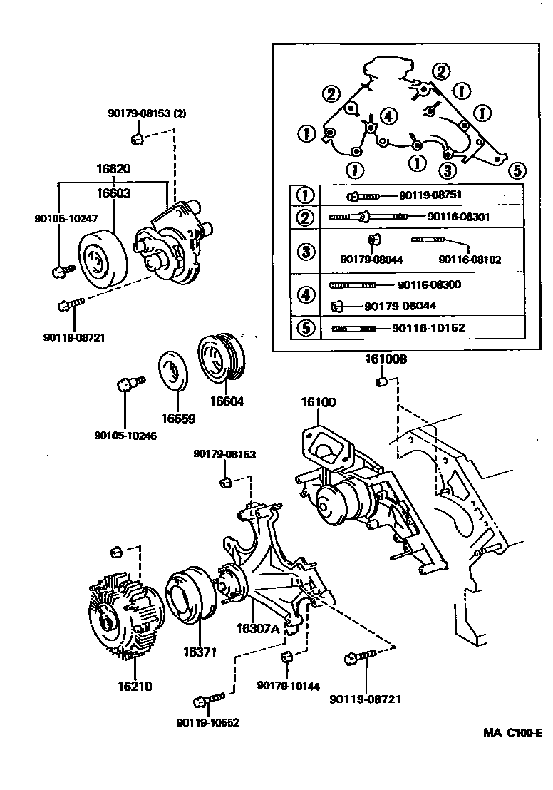
WATER PUMP

16100PUMP ASSY, ENGINE WATER
16100BPIN, RING(FOR WATER PUMP SET)
16210COUPLING ASSY, FLUID
HONG KONG SPEC
ISRAEL SPEC
16307ABRACKET SUB-ASSY, FAN
16371PULLEY, FAN
16603PULLEY SUB-ASSY, IDLER, NO.1
LITENS
AISIN
16604PULLEY SUB-ASSY, IDLER, NO.2
16620TENSIONER ASSY, V-RIBBED BELT
16659PLATE, IDLER PULLEY COVER, NO.2
9010510246
main90105-10246
9010510247
main90105-10247
9011608102
main90116-08102
9011608300
main90116-08300
9011608301
main90116-08301
9011610152
main90116-10152
9011908721
main90119-08721
9011908751
main90119-08751
9011910552
main90119-10552
9017908044
main90179-08044
9017908153
main90179-08153
9017910144
main90179-10144
21 parts on this diagram · 1 diagram in section