E
EPC Data

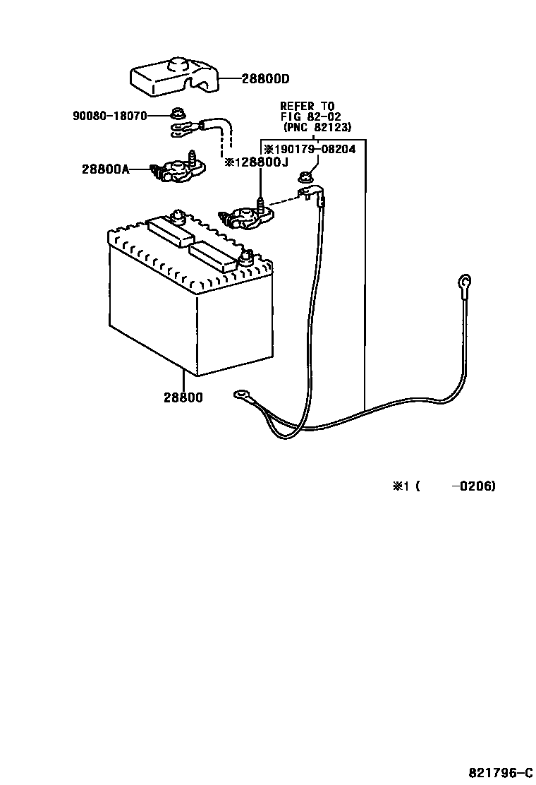
BATTERY & BATTERY CABLE

Parts diagram
28800BATTERY
main28800-02010i200211
55D23L,DELPHI
main28800-AA010i199908-200206
55D23L,GNB
28800ATERMINAL, BATTERY POSITIVE
main90982-05035i199908-200206
main90982-05054i200206
28800DCOVER, CONNECTOR(FOR BATTERY TERMINAL)
main82821-08010i199908-200206
28800JTERMINAL, BATTERY NEGATIVE
main90982-06022i199908-200206
8202WIRING & CLAMP
9008018070
9017908204

7 parts on this diagram · 1 diagram in section

BATTERY & BATTERY CABLE — Toyota Parts Diagram with OEM Numbers & Prices | EPC Data