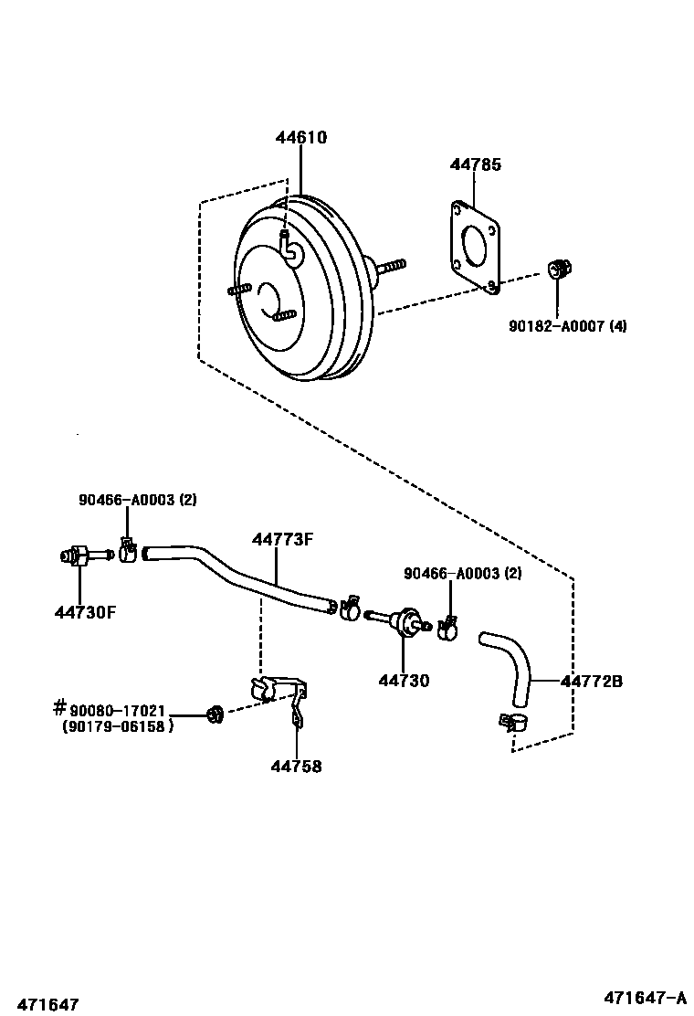
BRAKE BOOSTER & VACUUM TUBE

44610BOOSTER ASSY, BRAKE
44730VALVE ASSY, VACUUM CHECK(FOR BRAKE)
44730FUNION, VACUUM HOSE(FOR MANIFOLD SIDE)
44758BRACKET, VACUUM CHECK VALVE
44772BHOSE, CHECK VALVE TO BRAKE BOOSTER
44773FHOSE, UNION TO CHECK VALVE
44785GASKET, BRAKE BOOSTER
9008017021
main90080-17021
9017906158
main90179-06158
90182A0007
main90182-A0007
90466A0003
main90466-A0003
11 parts on this diagram · 1 diagram in section