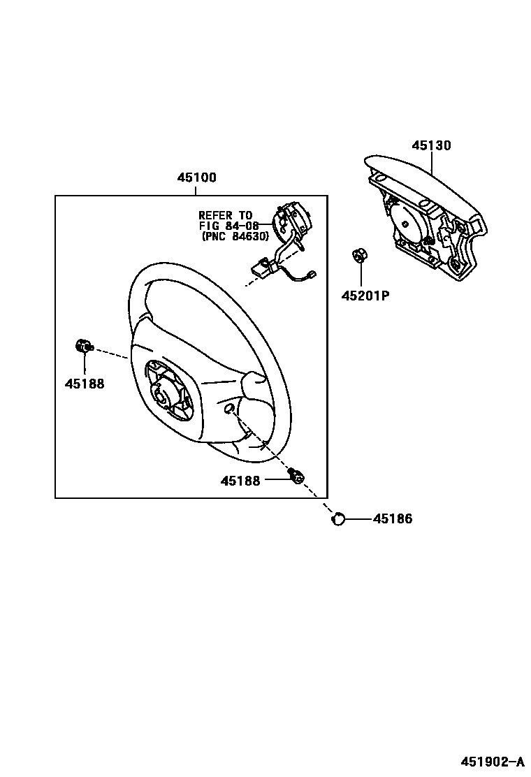
STEERING WHEEL

45100WHEEL ASSY, STEERING
4-SPOKE,URETHANE,IVORY,TRIM0#
4-SPOKE,URETHANE,STONE,TRIM1#
4-SPOKE,URETHANE,FAWN,TRIM4#
4-SPOKE,LEATHER,IVORY,TRIM0#
4-SPOKE,LEATHER,STONE,TRIM1#
4-SPOKE,LEATHER,FAWN,TRIM4#
4-SPOKE,URETHANE,IVORY,TRIM0#
4-SPOKE,URETHANE,STONE,TRIM1#
4-SPOKE,URETHANE,FAWN,TRIM4#
4-SPOKE,WOOD&LEATHER,IVORY,TRIM0#
4-SPOKE,WOOD&LEATHER,STONE,TRIM1#
4-SPOKE,WOOD&LEATHER,FAWN,TRIM4#
45130BUTTON ASSY, HORN
IVORY,TRIM0#
STONE,TRIM1#
FAWN,TRIM4#
IVORY,TRIM0#
STONE,TRIM1#
FAWN,TRIM4#
IVORY,TRIM0#
STONE,TRIM1#
FAWN,TRIM4#
IVORY,TRIM0#
STONE,TRIM1#
FAWN,TRIM4#
45186COVER, STEERING WHEEL, LOWER NO.2
IVORY,TRIM0#
STONE,TRIM1#
FAWN,TRIM4#
45188SCREW, STEERING WHEEL PAD ATTACHING
L=18.5
8408CRUISE CONTROL (AUTO DRIVE)
6 parts on this diagram · 1 diagram in section