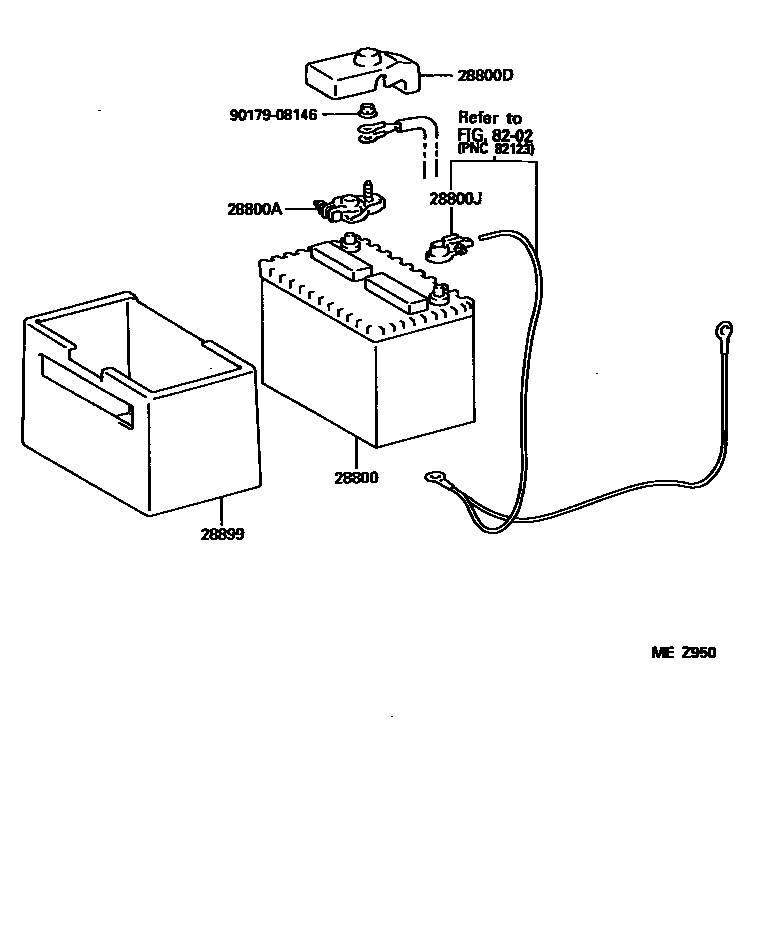
BATTERY & BATTERY CABLE

28800BATTERY
55D23L
28800ATERMINAL, BATTERY POSITIVE
28800DCOVER, CONNECTOR(FOR BATTERY TERMINAL)
28800JTERMINAL, BATTERY NEGATIVE
28899INSULATOR, BATTERY
8202WIRING & CLAMP
9017908146
main90179-08146
7 parts on this diagram · 1 diagram in section